| № | Наименование | Примечание | Кол-во |
|---|---|---|---|
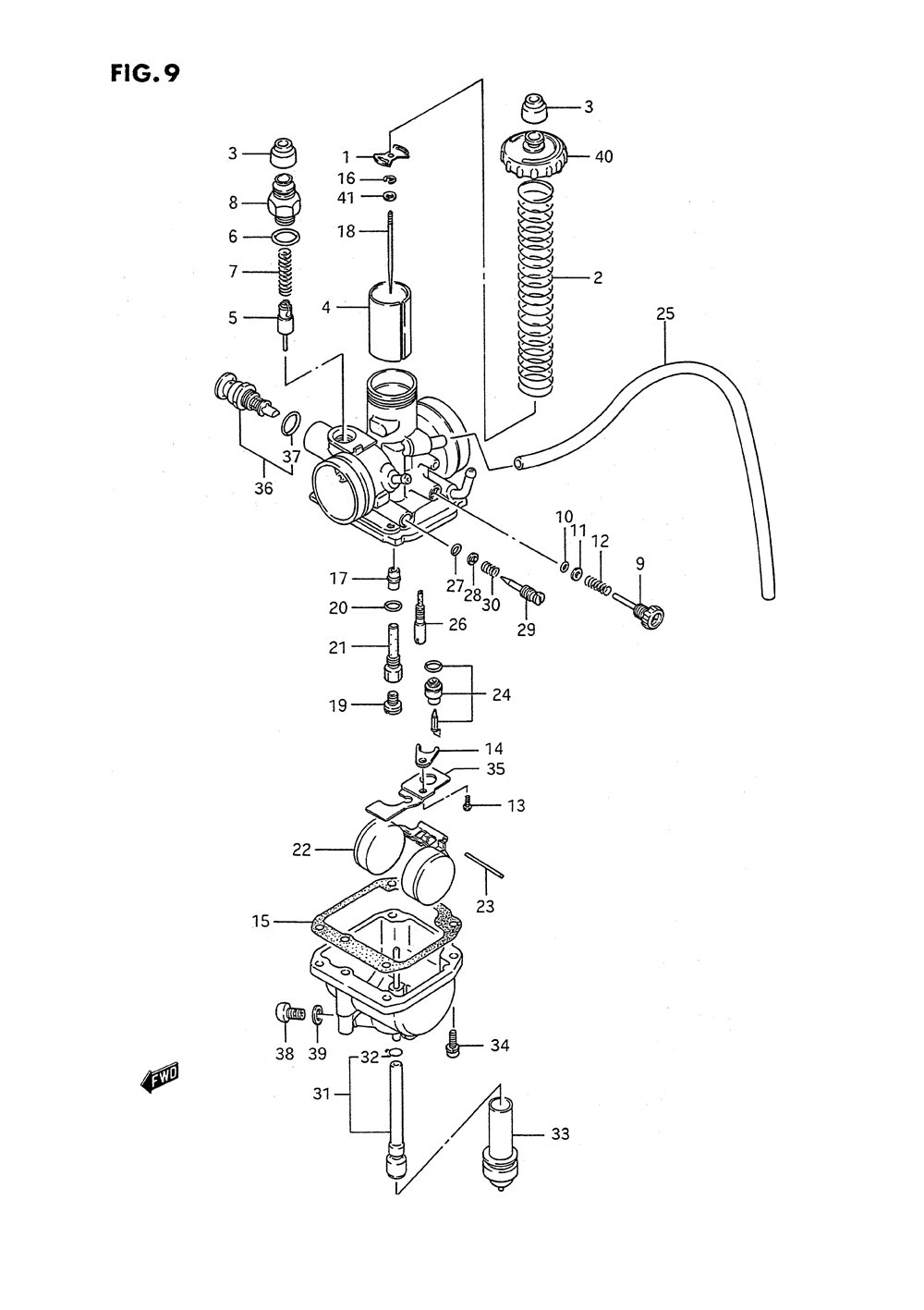
| CARBURETOR ASSY | 1 | ||
| 1 | NEEDLE CLIP STO | 1 | |
| 2 | SPRING THROTTL | 1 | |
| 3 | CARBURETOR CAP | 2 | |
| 4 | VALVETHROTTLE | 1 | |
| 5 | PLUNGER | 1 | |
| 6 | RING CARBURETOR | 1 | |
| 7 | SPRING | 1 | |
| 8 | CAP STARTER PLU | 1 | |
| 9 | ADJUSTER | 1 | |
| 10 | CARBURETOR O RI | 1 | |
| 11 | WASHER CARBURET | 1 | |
| 12 | SPRINGTHROTTLE | 1 | |
| 13 | SCREW | 1 | |
| 14 | PLATENEEDLE VA | 1 | |
| 15 | GASKET FLOAT CH | 1 | |
| 16 | NEEDLE CLIP (0010 per pack) | 1 | |
| 17 | JETNEEDLE(0-1) | 1 | |
| 18 | NEEDLEJET | 1 | |
| 19 | JET MAIN 100 H1 | 1 | |
| 20 | O RING | 1 | |
| 21 | BREATHER PIPE | 1 | |
| 22 | FLOAT | 1 | |
| 23 | FLOAT PIN | 1 | |
| 24 | VALVENEEDLE | 1 | |
| 25 | HOSE5X8X2000 | 1 | |
| 26 | JET PILOT | 1 | |
| 27 | O RING | 1 | |
| 28 | WASHER | 1 | |
| 29 | SCREW PILOT | 1 | |
| 30 | SPRING | 1 | |
| 31 | VALVE ASSYCHEC | 1 | |
| 32 | CLIP | 1 | |
| 33 | CAPCOVER FLOW | 1 | |
| 34 | SCREW | 4 | |
| 35 | PLATE | 1 | |
| 36 | PLUNGER ASSY | 1 | |
| 38 | PLUGDRAIN | 1 | |
| 39 | WASHER | 1 | |
| 40 | CAPTOP | 1 | |
| 41 | JET NEEDLE WASH | 1 |
