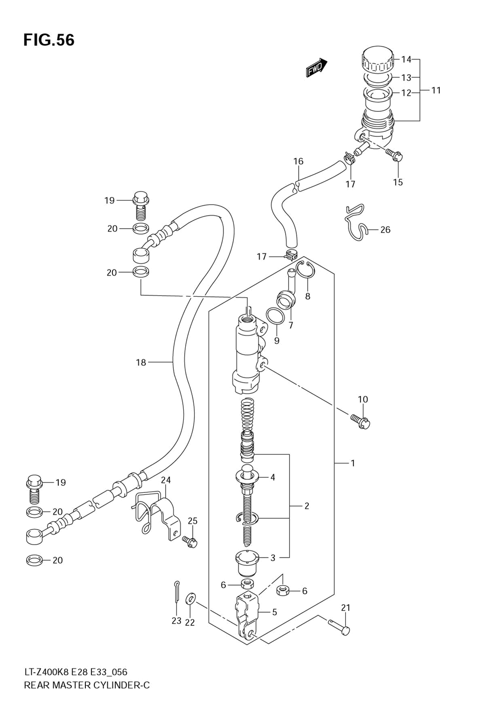
| № | Наименование | Примечание | Кол-во |
|---|---|---|---|
| 1 | CYLINDER ASSYR | 1 | |
| 2 | PISTON/CUP SET | 1 | |
| 3 | BOOT | 1 | |
| 4 | ROD PUSH | 1 | |
| 5 | YOKE | 1 | |
| 6 | NUT | 2 | |
| 7 | CONNECTOR | 1 | |
| 8 | CIRCLIP | 1 | |
| 9 | O RING CONNECTO | 1 | |
| 10 | BOLT | 2 | |
| 11 | TANK ASSYREAR | 1 | |
| 12 | DIAPHRAGM | 1 | |
| 13 | PLATE | 1 | |
| 14 | CAP | 1 | |
| 15 | BOLT 6X12 BLK 8 | 1 | |
| 16 | HOSERR RESERVO | 1 | |
| 17 | CLIP | 2 | |
| 18 | HOSEREAR BRAKE () | 1 | |
| 19 | BOLTBRAKE FLUI | 2 | |
| 20 | WASHER | 4 | |
| 21 | PIN | 1 | |
| 22 | WASHER | 1 | |
| 23 | PIN | 1 | |
| 24 | CLAMPREAR BRAK () | 1 | |
| 25 | BOLT | 1 | |
| 26 | GUIDE RR RSVR | 1 |
