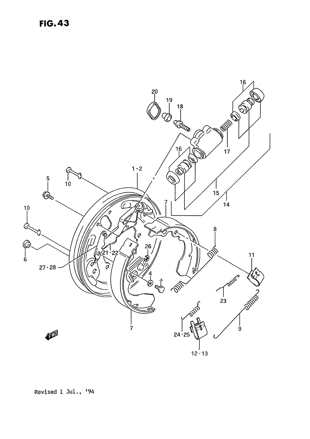
| № | Наименование | Примечание | Кол-во |
|---|---|---|---|
| 1 | Деталь | 1 | |
| 2 | Деталь | 1 | |
| 3 | BOLT | 8 | |
| 4 | WASHERLOCK | 8 | |
| 5-1 | BOLT | 4 | |
| 5-2 | BOLT (MODEL N/P->01550-06103) | 4 | |
| 6 | PLUGBACKING PL | 4 | |
| 7 | SHOE SETBRAKE | 4 | |
| 8 | SPRINGFRONT SH | 2 | |
| 9 | SPRINGFRONT SH | 2 | |
| 10 | Ось колодок задних SUZUKI 53241-82030 | 4 | |
| 11 | SPRINGSHOE HOL | 2 | |
| 12 | SPRINGSHOE HOL | 1 | |
| 13 | SPRINGSHOE HOL | 1 | |
| 14 | Цилиндр тормозной колесный | 2 | |
| 15 | PISTON SET | 2 | |
| 16 | Ремкомплект колесного тормозного цилиндра | 2 | |
| 17 | SPRINGWHEEL CY | 2 | |
| 18 | PLUGBLEEDER | 2 | |
| 19 | CAPBLEEDER PLU | 2 | |
| 20 | GASKETREAR WHE | 2 | |
| 21 | STRUT ASSYFRON | 1 | |
| 22 | STRUT ASSYFRON | 1 | |
| 23 | SPRINGQUADRANT | 2 | |
| 24 | SPRINGANTIRATT | 1 | |
| 25 | SPRINGANTIRATTL | 1 | |
| 26 | RETAINER PK LE | 2 | |
| 27 | STOPPERFRONT B | 1 | |
| 28 | STOPPERFRONT B | 1 |
