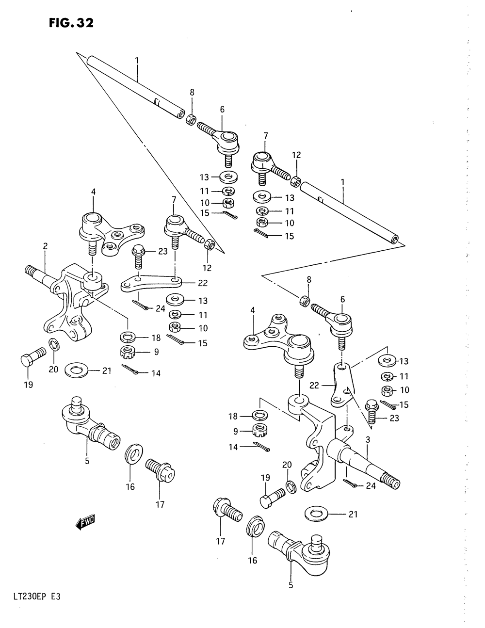
| № | Наименование | Примечание | Кол-во |
|---|---|---|---|
| 1 | TIE ROD STEERIN | 2 | |
| 2 | KNUCKLE STRG RH | 1 | |
| 3 | Деталь | 1 | |
| 4-1 | Деталь | 2 | |
| 5-1 | ENDKNUCKLE STE | 2 | |
| 5-2 | ENDKNUCKLE STE | 2 | |
| 6-1 | ROD END RH | 2 | |
| 6-2 | ROD END RH | 2 | |
| 7-1 | ROD END LF | 2 | |
| 7-2 | ROD END LF | 2 | |
| 8 | NUT10X6 | 2 | |
| 9 | NUT | 2 | |
| 10 | NUT FINAL GEAR | 4 | |
| 11 | WASHERLOCK | 4 | |
| 12 | NUT | 2 | |
| 13 | WASHER10.5X25X | 2 | |
| 14 | PIN | 2 | |
| 15 | PIN | 4 | |
| 16 | STOPPER KNUCKLE | 2 | |
| 17 | BOLT 14X30 | 2 | |
| 18 | WASHERLOCK | 2 | |
| 19 | BOLT 10X32 | 2 | |
| 21 | WASHER14.5X28X | 2 | |
| 22 | Деталь | 2 | |
| 23 | BOLT8X30 | 4 |
