| № | Наименование | Примечание | Кол-во |
|---|---|---|---|
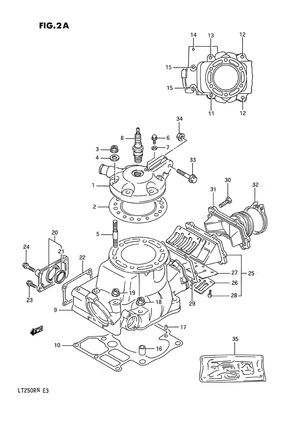
| 1 | HEADCYLINDER | 1 | |
| 2-1 | GASKETCYLINDER | 1 | |
| 3 | NUT | 6 | |
| 4 | CYLINDER HEAD W | 6 | |
| 5 | STUD BOLT L:30 | 6 | |
| 6 | UNION BOLT | 1 | |
| 7 | TACH GEAR WASHE | 1 | |
| 8 | Свеча зажигания | 1 | |
| 9 | Деталь | 1 | |
| 10-1 | GASKETCYLINDER | 1 | |
| 10-2 | GASKETCYLINDER | 1 | |
| 11 | BOLT STUD L:55 | 1 | |
| 12 | BOLT STUD 8X35 | 2 | |
| 13 | BOLT STUD L:65 | 1 | |
| 14 | BOLTSTUD | 1 | |
| 15 | BOLTSTUD | 2 | |
| 16 | PIN 11X16 | 1 | |
| 17 | PIN | 1 | |
| 19 | NUT (0010 per pack) | 3 | |
| 20 | COVERCYLINDER | 1 | |
| 21 | Деталь | 1 | |
| 22-1 | GASKETCYLINDER | 1 | |
| 23 | BOLT 6X16 | 1 | |
| 24 | BOLT 6 X 20 | 3 | |
| 25 | Деталь | 1 | |
| 26 | STOPPERREED VA | 2 | |
| 27 | VALVEREED | 2 | |
| 28 | SCREW | 6 | |
| 29 | GASKETREED VAL | 1 | |
| 30 | BOLT (0010 per pack) | 6 | |
| 31 | PIPEINTAKE | 1 | |
| 32 | CLAMP | 1 | |
| 33 | BOLT | 1 | |
| 34 | NUT | 1 | |
| 35-1 | GASKET SET | 1 | |
| 35-2 | GASKET SET | 1 |
