| № | Наименование | Примечание | Кол-во |
|---|---|---|---|
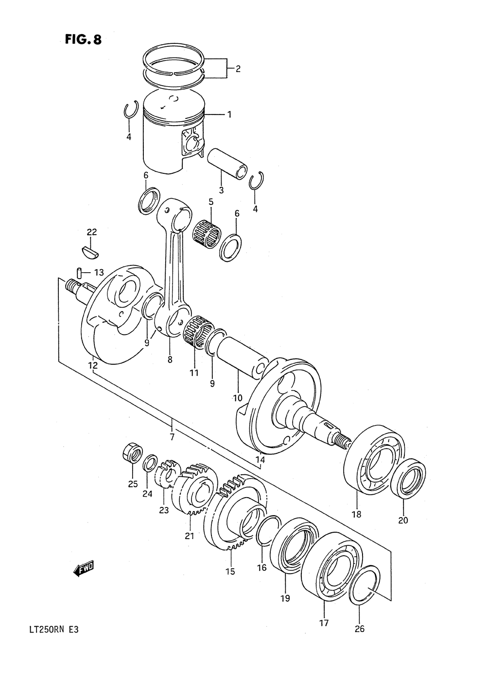
| 1-1 | Деталь | 1 | |
| 1-2 | PISTON SETOS:0 | 1 | |
| 1-3 | PISTON SETOS 1 | 1 | |
| 2-1 | Деталь | 1 | |
| 2-2 | Деталь | 1 | |
| 2-3 | Деталь | 1 | |
| 3 | PIN PISTON | 1 | |
| 4 | PISTON PIN CIRC (0010 per pack) | 2 | |
| 5 | RN 18X23X24 BRG | 1 | |
| 6 | WASHER | 2 | |
| 7 | Деталь | 1 | |
| 8 | ROD CONNECTING | 1 | |
| 9 | WASHER | 2 | |
| 10 | PINCRANK | 1 | |
| 11 | RN 26X32X16.8BR | 1 | |
| 12 | CRANKSHAFTRH | 1 | |
| 13 | PIN | 1 | |
| 14 | CRANKSHAFT LH | 1 | |
| 15 | GEAR BALANCER D | 1 | |
| 16 | O RING | 1 | |
| 17 | B1 30X62X16 BEA | 1 | |
| 18 | B1 32X65X17 BEA | 1 | |
| 19 | OIL SEAL CRANK | 1 | |
| 20 | OIL SEAL | 1 | |
| 21 | Деталь | 1 | |
| 22 | KEY | 1 | |
| 23 | GEAR PUMP DRIVE | 1 | |
| 24 | WASHER | 1 | |
| 25 | NUT | 1 | |
| 26-1 | SHIM 0.6 | 1 | |
| 26-10 | Деталь | 1 | |
| 26-11 | SHIM 1.10 | 1 | |
| 26-12 | Деталь | 1 | |
| 26-13 | SHIM 1.20 | 1 | |
| 26-14 | Деталь | 1 | |
| 26-2 | SHIM 0.65 | 1 | |
| 26-3 | SHIM 0.70 | 1 | |
| 26-4 | SHIM 0.75 | 1 | |
| 26-5 | SHIM 0.80 | 1 | |
| 26-6 | SHIM 0.85 | 1 | |
| 26-7 | Деталь | 1 | |
| 26-8 | SHIM | 1 | |
| 26-9 | SHIM 1.00 | 1 |
