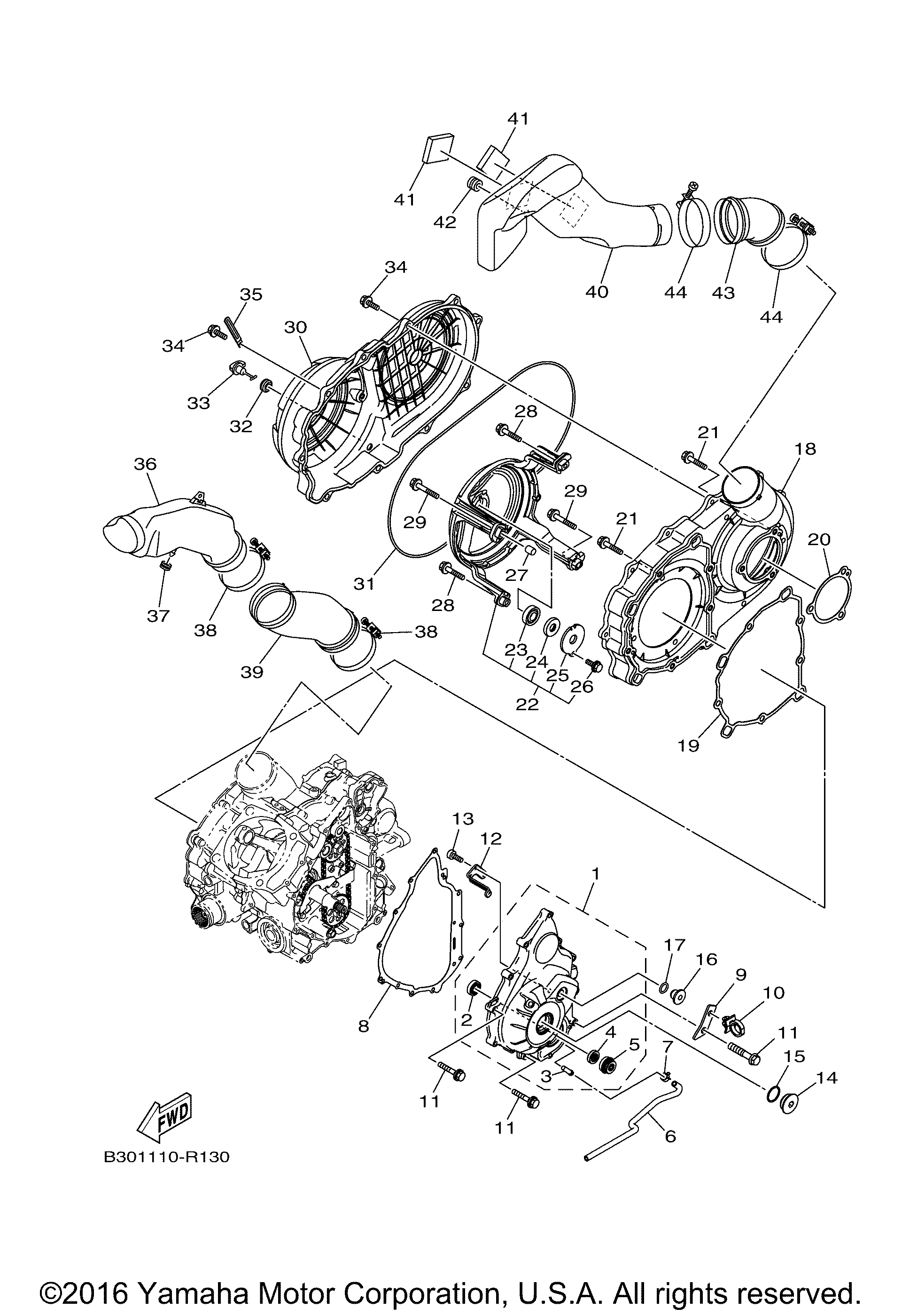
| № | Наименование | Примечание | Кол-во |
|---|---|---|---|
| 1 | CRANKCASE COVER AS | 1 | |
| 2 | BEARING | 1 | |
| 3 | PIPE DRAIN | 1 | |
| 4 | OIL SEAL | 1 | |
| 5 | SEAL MECHANICAL | 1 | |
| 6 | HOSE 5 | 1 | |
| 7 | CLIP | 1 | |
| 8 | GASKET CRANKCASE | 1 | |
| 9 | PLATE | 1 | |
| 10 | CLAMP | 1 | |
| 11 | BOLT 1 | 11 | |
| 12 | PLATE | 1 | |
| 13 | BOLT | 2 | |
| 14 | PLUG BLIND 2 | 1 | |
| 15 | O-RING | 1 | |
| 16 | PLUG BLIND 2 | 1 | |
| 17 | O-RING | 1 | |
| 18 | COVER CRANKCASE 2 | 1 | |
| 19 | GASKET | 1 | |
| 20 | SEAL CRANKCASE | 1 | |
| 21 | BOLT 2 | 8 | |
| 22 | HOUSING ASSY | 1 | |
| 23 | BEARING | 1 | |
| 24 | OIL SEAL | 1 | |
| 25 | PLATE BEARING COV | 1 | |
| 26 | BOLT 2 | 1 | |
| 27 | PIN DOWEL | 2 | |
| 29 | BOLT 2 | 2 | |
| 30 | COVER CRANKCASE 3 | 1 | |
| 31 | SEAL CRANKCASE | 1 | |
| 32 | GROMMET | 1 | |
| 33 | PLUG DRAIN | 1 | |
| 34 | BOLT | 12 | |
| 35 | CLAMP 2 | 1 | |
| 36 | DUCT AIR | 1 | |
| 37 | GROMMET | 1 | |
| 38 | CLAMPHOSE | 2 | |
| 39 | SEAL AIR DUCT | 1 | |
| 40 | DUCT AIR | 1 | |
| 41 | SEAT BATTERY | 2 | |
| 42 | GROMMET | 1 | |
| 43 | SEAL AIR DUCT | 1 |
