| № | Наименование | Примечание | Кол-во |
|---|---|---|---|
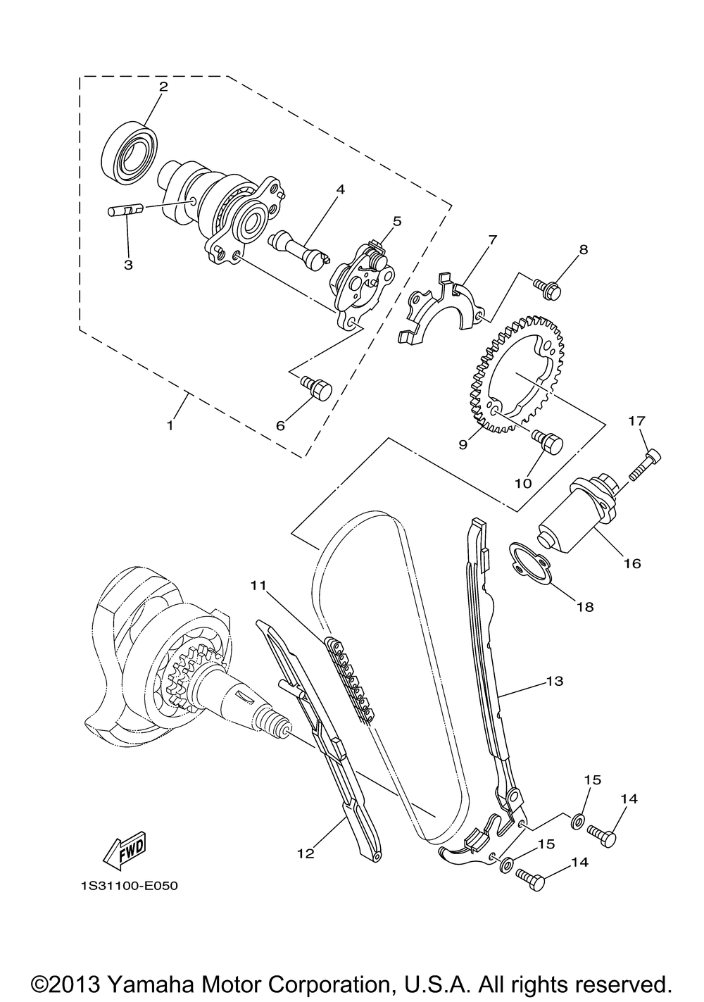
| 1 | CAMSHAFT ASSY 1 | 1 | |
| 2 | BEARING | 1 | |
| 3 | PIN DECOMPRESSION L | 1 | |
| 4 | LEVER DECOMPRESSION | 1 | |
| 5 | DECOMPRESSION ASSY | 1 | |
| 6 | BOLT FLANGE | 2 | |
| 7 | PLATE | 1 | |
| 8 | BOLT FLANGE | 2 | |
| 9 | SPROCKET CAM CHAIN | 1 | |
| 11 | CHAIN (98XRH2010-126M) | 1 | |
| 12 | GUIDE STOPPER 1 | 1 | |
| 13 | GUIDE STOPPER 2 | 1 | |
| 14 | BOLT (GA1) (5 per pack) | 2 | |
| 15 | WASHER (5 per pack) | 2 | |
| 16 | TENSNR ASYCAM CHAIN | 1 | |
| 17 | BOLT (4MY) | 2 | |
| 18 | GASKETTENSNR CASE | 1 |
