| № | Наименование | Примечание | Кол-во |
|---|---|---|---|
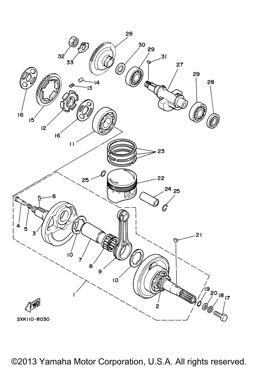
| 1 | CRANKSHAFT ASSY | 1 | |
| 2 | CRANK SUB ASSY 1 | 1 | |
| 3 | CRANK 2 | 1 | |
| 4 | PINCLEVIS | 1 | |
| 5 | SPRINGCOMPRESSION | 1 | |
| 6 | PINDOWEL (5 per pack) | 1 | |
| 7 | PINCRANK 1 | 1 | |
| 8 | BEARINGCYLINDRICAL | 1 | |
| 9 | RODCONNECTING | 1 | |
| 10 | WASHERSPEC'L SHAPE | 2 | |
| 11 | BEARING | 1 | |
| 12 | BOSSBUFFER | 1 | |
| 13 | SPRINGCOMPRESSION | 6 | |
| 14 | PINDOWEL (5 per pack) | 3 | |
| 15 | GEAR BALANCE WT. | 1 | |
| 16 | WASHERBEARING CVR | 2 | |
| 17 | BOLT | 1 | |
| 18 | WASHER(6TA) | 1 | |
| 19 | O-RING | 1 | |
| 20 | WASHER PLATE | 1 | |
| 21 | KEY WOODRUFF | 1 | |
| 22 | PISTON (1.00MM O/S) (1.00MM O/S) AP | 1 | |
| 22 | PISTON (0.50MM O/S) (0.50MM O/S) AP | 1 | |
| 22 | PISTON (STD) (STD) | 1 | |
| 23 | PISTON RING SET (STD) | 1 | |
| 23 | PISTON RING SET (1.00MM O/S) AP | 1 | |
| 23 | PISTON RING SET (0.50MM O/S) AP | 1 | |
| 24 | PINPISTON | 1 | |
| 25 | CIRCLIPINNER (5 per pack) | 2 | |
| 26 | GEARDRIVE | 1 | |
| 27 | WEIGHT 1 | 1 | |
| 28 | OIL SEALS-TYPE | 1 | |
| 29 | BEARING | 2 | |
| 30 | WASHERPLATE | 1 | |
| 31 | KEYSTRAIGHT | 1 | |
| 32 | NUTHEXAGON | 1 | |
| 33 | WASHER LOCK (2NL) | 1 |
