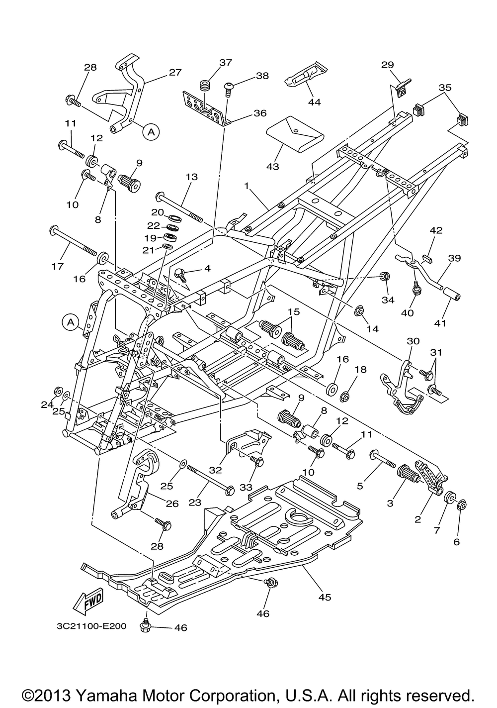
| № | Наименование | Примечание | Кол-во |
|---|---|---|---|
| 1 | FRAME COMP. | 1 | |
| 2 | STAY ENGINE 2 | 1 | |
| 3 | DAMPER ENGINE MOUNT | 1 | |
| 4 | BOLT FLANGE | 2 | |
| 5 | BOLT FLANGE | 1 | |
| 6 | NUTSELF-LOCKING | 1 | |
| 7 | DAMPER 2 | 1 | |
| 8 | STAY ENGINE 3 | 2 | |
| 11 | BOLTFLANGE | 2 | |
| 13 | BOLTWASHER BASED | 1 | |
| 16 | DAMPER | 2 | |
| 19 | BEARING | 1 | |
| 20 | OIL SEALSD-TYPE | 1 | |
| 21 | OIL SEALSD-TYPE | 1 | |
| 22 | HOLDER BEARING | 1 | |
| 23 | BOLTWASHER BASED | 2 | |
| 25 | WASHER PLATE | 4 | |
| 26 | STAY HEAD LIGHT 1 | 1 | |
| 27 | STAY HEAD LIGHT 2 | 1 | |
| 28 | BOLTFLANGE(4LN) | 4 | |
| 29 | STAY MUFFLER 2 | 1 | |
| 30 | ARM | 1 | |
| 31 | BOLTFLANGE(8AB) | 5 | |
| 32 | PROTECTOR 1 | 1 | |
| 33 | BOLTFLANGE | 2 | |
| 34 | GROMMET | 1 | |
| 35 | CAP MAIN PIPE | 2 | |
| 36 | BRACKET RESERVE T | 1 | |
| 37 | GROMMET | 1 | |
| 38 | SCREWSPEC'L SHAPE | 2 | |
| 39 | LEVER LATCH 1 | 1 | |
| 40 | BOLT (5 per pack) | 1 | |
| 41 | CAPPROTECTOR | 1 | |
| 42 | HOLDER DAMPER | 1 | |
| 43 | TOOL KIT | 1 | |
| 44 | GAUGEAIR | 1 | |
| 45 | GUARDENGINE 1 | 1 |
