| № | Наименование | Примечание | Кол-во |
|---|---|---|---|
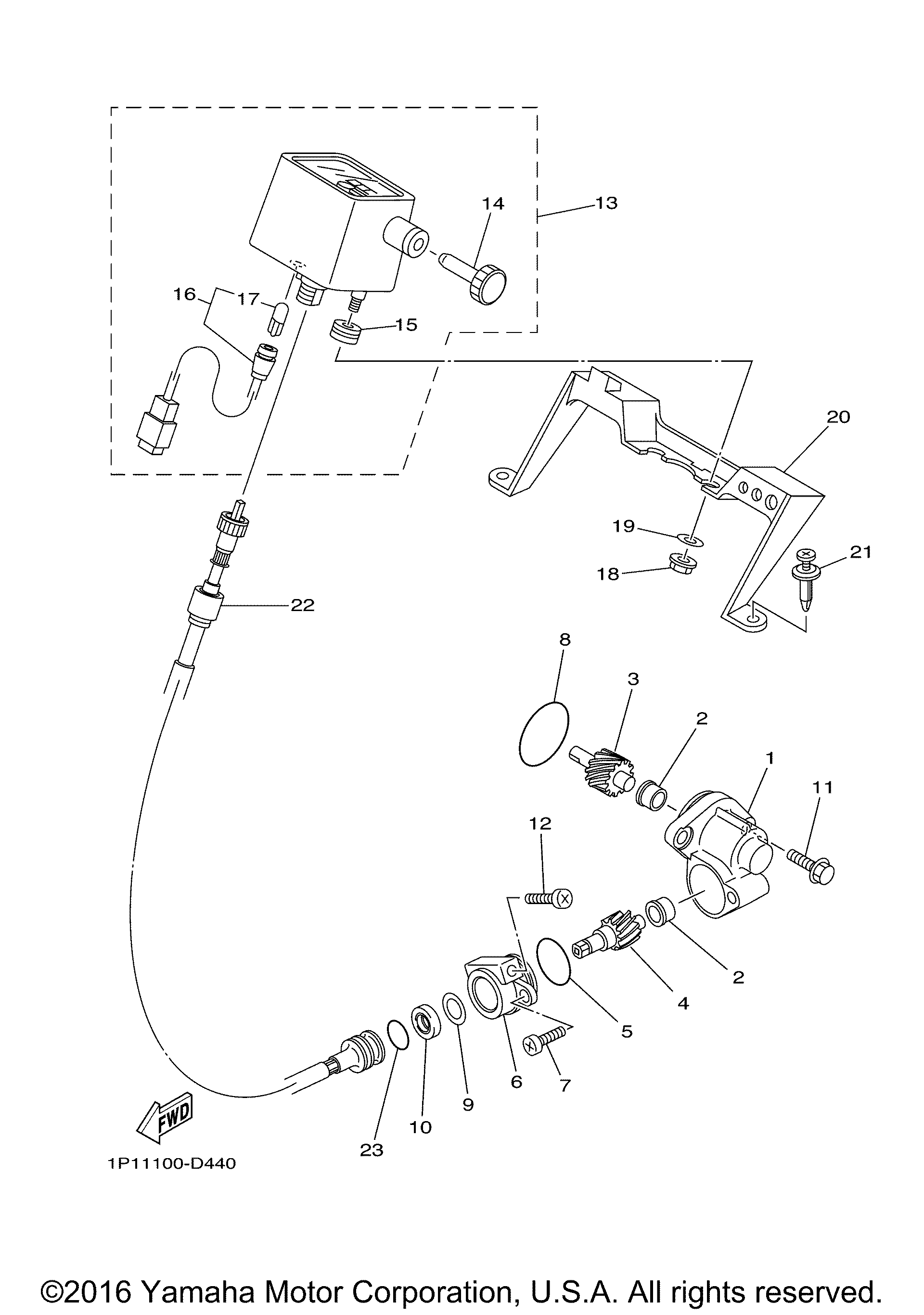
| 1 | HOUSINGTACHOMETER G | 1 | |
| 2 | BUSHSOLID | 2 | |
| 3 | GEAR DRIVE | 1 | |
| 4 | GEAR DRIVEN | 1 | |
| 5 | O-RING (5 per pack) | 1 | |
| 6 | HOUSINGTACH GEAR | 1 | |
| 7 | SCREWPAN HEAD | 1 | |
| 8 | O-RING | 1 | |
| 9 | WASHERPLATE | 1 | |
| 10 | OIL SEAL | 1 | |
| 11 | BOLTFLANGE | 2 | |
| 12 | SCREWPAN HEAD | 1 | |
| 13 | SPEEDOMETER ASSY MILE/H | 1 | |
| 14 | KNOB TRIP METER | 1 | |
| 15 | DAMPER | 2 | |
| 16 | SOCKET CORD ASSY | 1 | |
| 17 | BULBMETER 14V3W (12V-1.7W) (10 per pack) | 1 | |
| 18 | NUT FLANGE 3GM (BLA | 2 | |
| 19 | WASHERPLATE | 2 | |
| 20 | BRACKET METER | 1 | |
| 21 | RIVET (10 per pack) | 2 | |
| 22 | SPEEDOMETER CABLE | 1 | |
| 23 | Кольцо уплотнительное | 1 |
