| № | Наименование | Примечание | Кол-во |
|---|---|---|---|
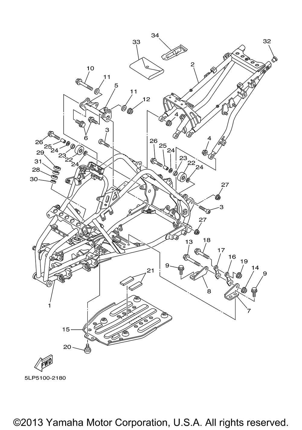
| 1 | FRONT FRAME COMP. | 1 | |
| 2 | REAR FRAME COMP. | 1 | |
| 3 | BOLTBUTTON | 4 | |
| 4 | NUT | 4 | |
| 5 | STAY ENGINE 2 | 1 | |
| 6 | BOLTFLANGE | 4 | |
| 7 | STAY ENGINE 3 | 1 | |
| 8 | STAY ENGINE 3 | 1 | |
| 9 | BOLT FLANGE | 4 | |
| 10 | BOLTFLANGE (4MY) | 1 | |
| 11 | WASHERPLATE | 2 | |
| 12 | NUTSELF-LOCKING | 1 | |
| 15 | PROTECTOR ENGINE | 1 | |
| 16 | STAY ENGINE 5 | 1 | |
| 17 | STAY ENGINE 5 | 1 | |
| 18 | BOLTFLANGE | 1 | |
| 20 | BOLT | 6 | |
| 21 | DAMPER PLATE | 2 | |
| 22 | TENSIONER | 2 | |
| 23 | BEARING | 2 | |
| 24 | WASHER PLATE | 4 | |
| 25 | COLLAR | 2 | |
| 26 | BOLTFLANGE | 2 | |
| 27 | NUT SELF LOCKING | 2 | |
| 28 | BEARING | 1 | |
| 29 | OIL SEALSD-TYPE | 1 | |
| 30 | OIL SEALSD-TYPE | 1 | |
| 31 | HOLDERBEARING | 1 | |
| 32 | PLUGSPEC'L SHAPE | 2 | |
| 33 | TOOL KIT | 1 | |
| 34 | GAUGEAIR | 1 |
