| № | Наименование | Примечание | Кол-во |
|---|---|---|---|
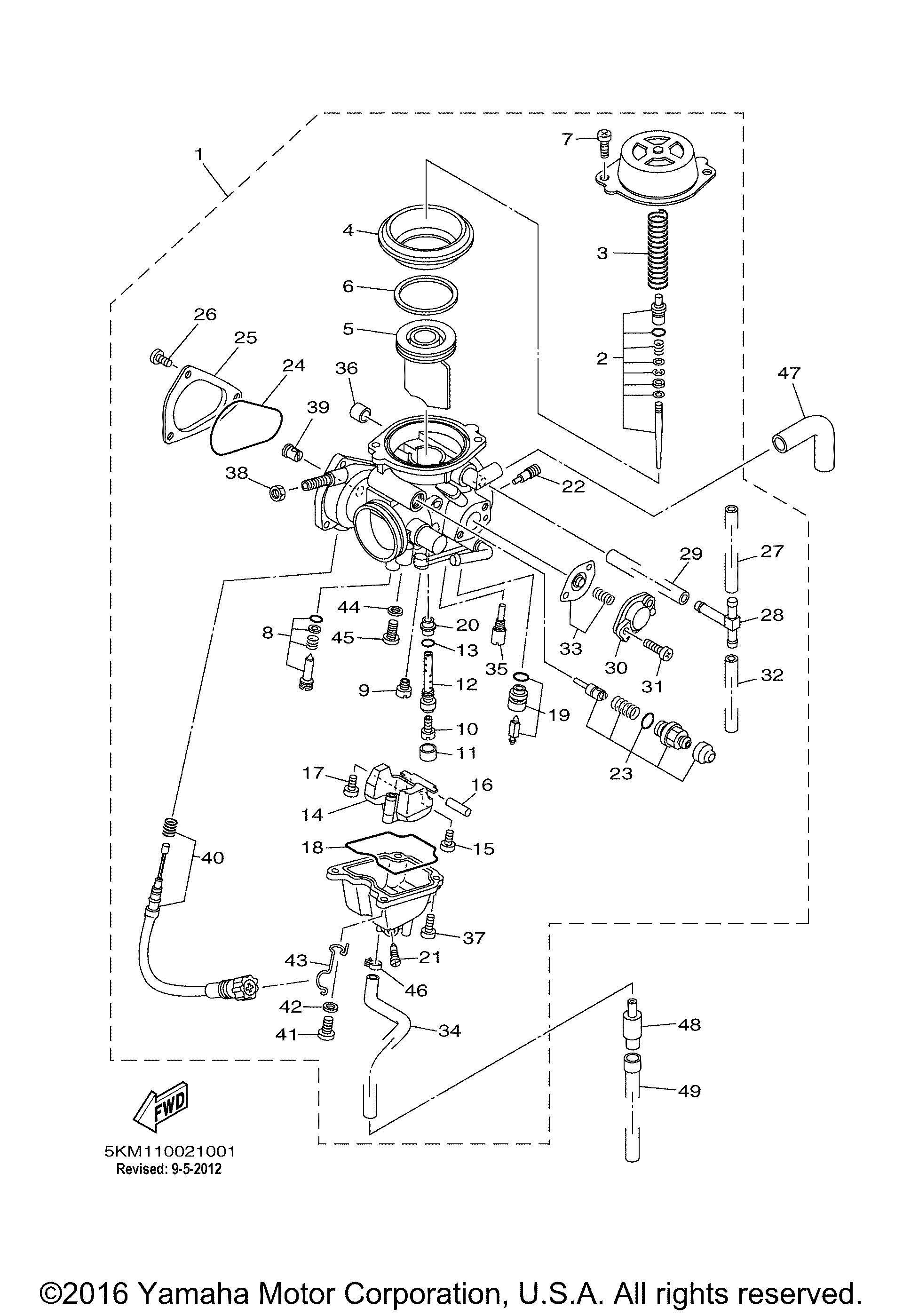
| 1 | CARBURETOR ASSY 1 | 1 | |
| 2 | NEEDLE SET | 1 | |
| 3 | SPRINGDIAPHRAGM | 1 | |
| 4 | DIAPHRAGM | 1 | |
| 5 | VALVE THROTTLE | 1 | |
| 6 | RING | 1 | |
| 7 | SCREWPANHEAD(JN2 | 2 | |
| 8 | PILOT SCREW SET | 1 | |
| 9 | JETMAIN tahos_55 (tahos_55) | 1 | |
| 10 | JET MAIN tahos_153.8 (tahos_153.8) | 1 | |
| 11 | RING | 1 | |
| 12 | HOLDER | 1 | |
| 13 | O-RING | 1 | |
| 14 | FLOAT | 1 | |
| 15 | SCREWPAN HEAD | 1 | |
| 16 | PINFLOAT | 1 | |
| 17 | SCREW | 1 | |
| 18 | O-RING | 1 | |
| 20 | NOZZLE MAIN | 1 | |
| 21 | PLUGDRAIN | 1 | |
| 22 | JET STARTER (tahos_60) | 1 | |
| 23 | STARTER SET | 1 | |
| 24 | O-RING | 1 | |
| 25 | COVER 1 | 1 | |
| 27 | PIPE | 1 | |
| 28 | PIPESTARTER CON | 1 | |
| 29 | PIPE | 1 | |
| 30 | COVER CARBURETOR | 1 | |
| 31 | SCREWW/WASHER | 2 | |
| 32 | PIPE | 1 | |
| 33 | DIAPHRAGM SET 5 | 1 | |
| 34 | PIPE | 1 | |
| 35 | JETPILOT(tahos_40) (tahos_ 40) STD | 1 | |
| 36 | CAP | 1 | |
| 37 | SCREWPANHEAD | 3 | |
| 38 | NUTCABLE ADJUSTING | 1 | |
| 39 | GUIDECABLE END | 1 | |
| 40 | THROTTLE SCREW SET | 1 | |
| 41 | SCREW PAN HD N15 | 1 | |
| 42 | WASHER (JF2) | 1 | |
| 43 | CLIP | 1 | |
| 44 | WASHER | 1 | |
| 45 | SCREW UR (tahos_1) REAR | 1 | |
| 46 | CLIP | 1 | |
| 47 | PIPE | 1 | |
| 48 | PIPE | 1 | |
| 49 | TUBE FLEXIBLE (3NV) UR | 1 |
