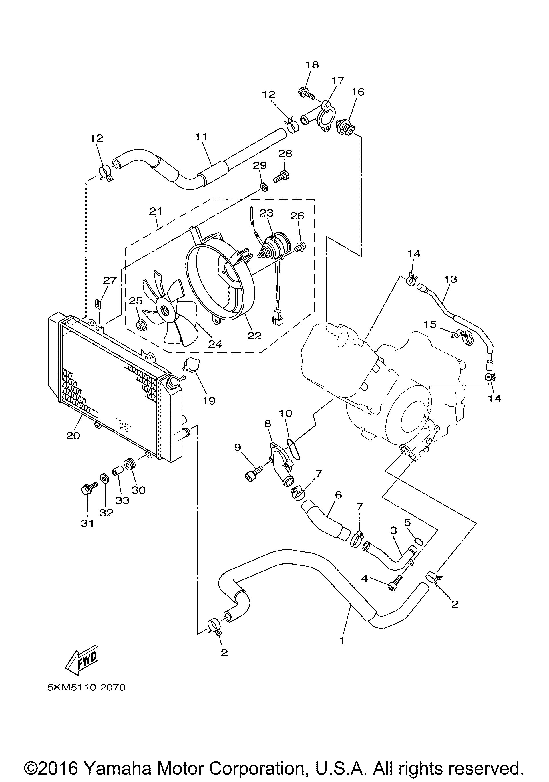
| № | Наименование | Примечание | Кол-во |
|---|---|---|---|
| 1 | HOSE 1 | 1 | |
| 2 | CLIP | 2 | |
| 3 | PIPE 1 | 1 | |
| 4 | BOLT (4MY) | 1 | |
| 5 | O-RING (5 per pack) | 1 | |
| 6 | HOSE 2 | 1 | |
| 7 | HOSE CLAMP ASSY | 2 | |
| 8 | JOINT 1 | 1 | |
| 9 | BOLT (4FL) | 2 | |
| 10 | O-RING | 1 | |
| 11 | HOSE 3 | 1 | |
| 13 | HOSE 4 | 1 | |
| 14 | CLIPSCISSOR | 2 | |
| 15 | CLAMP | 1 | |
| 16 | THERMOSTAT (USA) | 1 | |
| 17 | COVER THERMOSTAT | 1 | |
| 18 | BOLTFLANGE(6U1) | 2 | |
| 19 | CAPRADIATOR | 1 | |
| 20 | RADIATOR ASSY | 1 | |
| 21 | BLOWER ASSY | 1 | |
| 22 | ARI SHROUD ASSY | 1 | |
| 23 | MOTOR ASSY | 1 | |
| 24 | FAN ASSY | 1 | |
| 25 | NUT W/WASHER | 1 | |
| 26 | BOLT | 3 | |
| 27 | PLATE | 3 | |
| 28 | BOLT(3JP) | 3 | |
| 29 | WASHER PLATE (6TA) | 3 | |
| 30 | GROMMET | 4 | |
| 31 | BOLT FLANGE | 2 | |
| 32 | WASHER | 2 | |
| 33 | COLLAR | 2 |
