| № | Наименование | Примечание | Кол-во |
|---|---|---|---|
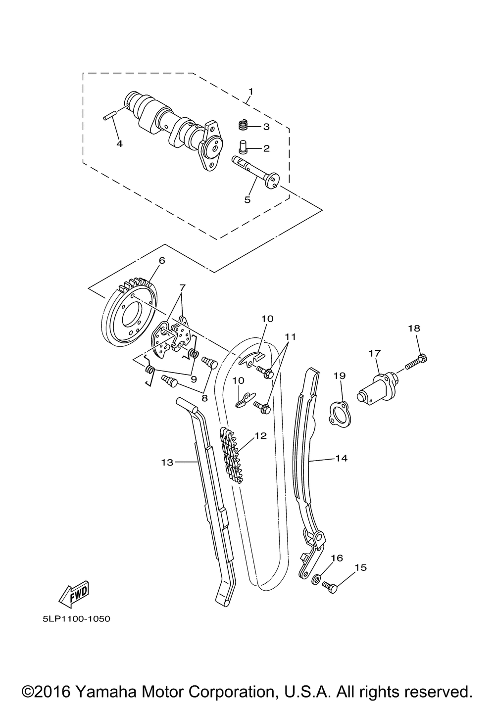
| 1 | CAMSHAFT ASSY 1 | 1 | |
| 2 | PIN DECOMPRESSION | 1 | |
| 3 | SPRING COMPRESSION | 1 | |
| 4 | PIN DOWEL | 1 | |
| 5 | LEVER DECOMPRESSION | 1 | |
| 6 | SPROCKET CAM CHAIN | 1 | |
| 7 | CAM DECOMPRESSION | 2 | |
| 8 | SHAFT TENSIONER | 2 | |
| 9 | SPRING | 2 | |
| 10 | PLATE GUIDE STOPPER | 2 | |
| 11 | BOLT FLANGE | 2 | |
| 12 | CHAIN CAM (ENDLESS) | 1 | |
| 13 | GUIDESTOPPER 1 | 1 | |
| 14 | GUIDESTOPPER 2 | 1 | |
| 15 | BOLT HEXAGON | 2 | |
| 16 | WASHER PLATE (6TA) | 2 | |
| 17 | TENSNR ASYCAM CHAIN | 1 | |
| 18 | BOLT (4MY) | 2 | |
| 19 | GASKETTENSNR CASE | 1 |
