| № | Наименование | Примечание | Кол-во |
|---|---|---|---|
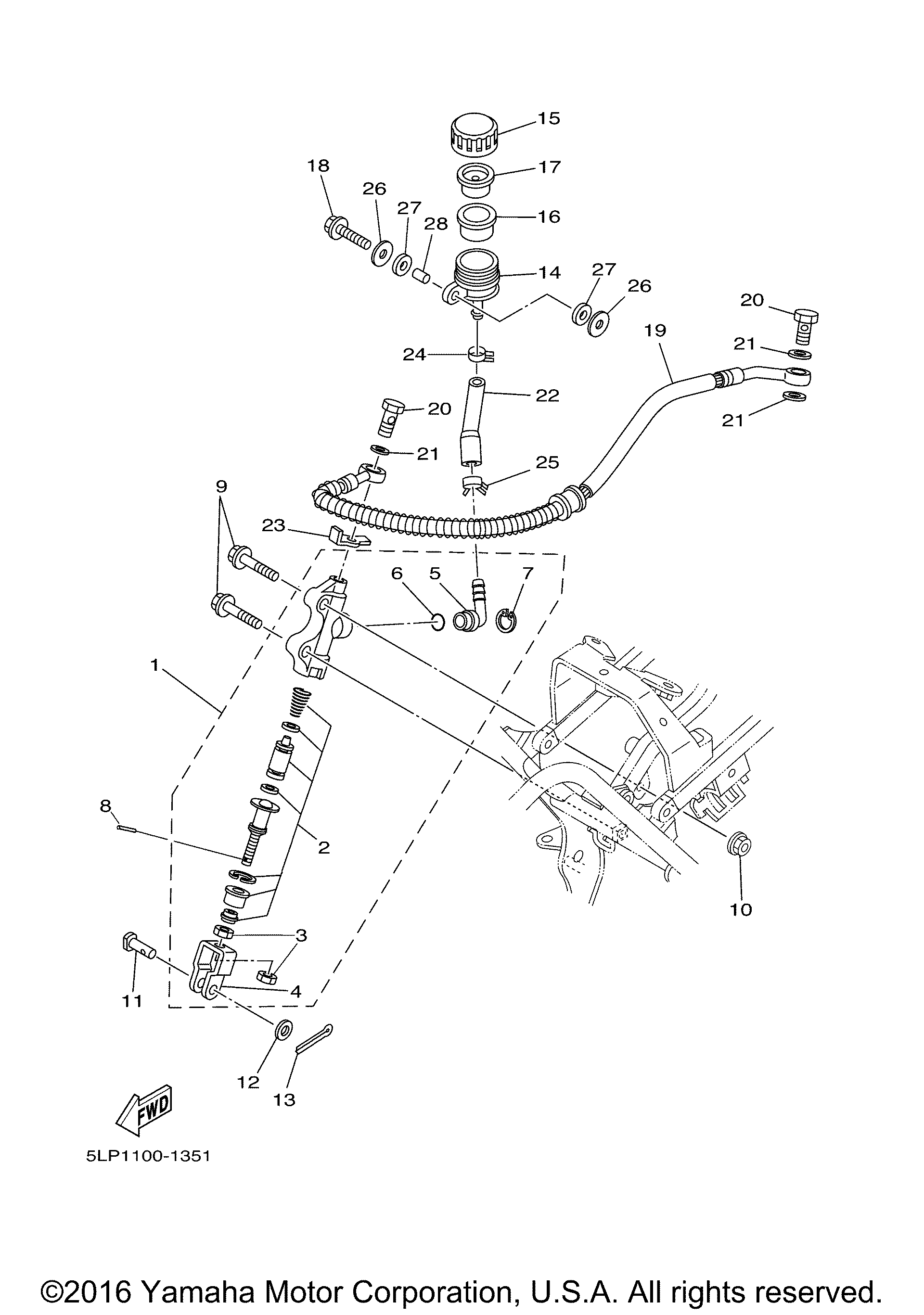
| 1 | REAR MASTER CYLINDER | 1 | |
| 2 | CYLINDER KIT MASTER | 1 | |
| 3 | NUT (6L2) | 2 | |
| 4 | JOINT | 1 | |
| 5 | JOINT | 1 | |
| 6 | O-RING (5 per pack) | 1 | |
| 7 | CIRCLIP | 1 | |
| 8 | PIN | 1 | |
| 9 | BOLTSMALL FLANGE | 2 | |
| 10 | NUT SELF LOCKING | 2 | |
| 11 | PINCLEVIS | 1 | |
| 12 | WASHERPLATE | 1 | |
| 13 | PIN COTTER | 1 | |
| 14 | TANK RESERVOIR | 1 | |
| 15 | CAP RESERVOIR | 1 | |
| 16 | DIAPHRAGM RESERVOIR | 1 | |
| 17 | BUSHDIAPHRAGM | 1 | |
| 18 | BOLTFLANGE | 1 | |
| 19 | HOSE BRAKE | 1 | |
| 20 | BOLTUNION(3GM) | 2 | |
| 21 | WASHERPLATE (5 per pack) | 3 | |
| 22 | HOSE RESERVOIR | 1 | |
| 23 | WASHER LOCK | 1 | |
| 24 | CLIPSCISSOR | 1 | |
| 25 | CLIPSCISSOR | 1 | |
| 26 | WASHERPLATE | 2 | |
| 27 | WASHERPLATE | 2 | |
| 28 | COLLAR | 1 |
