| № | Наименование | Примечание | Кол-во |
|---|---|---|---|
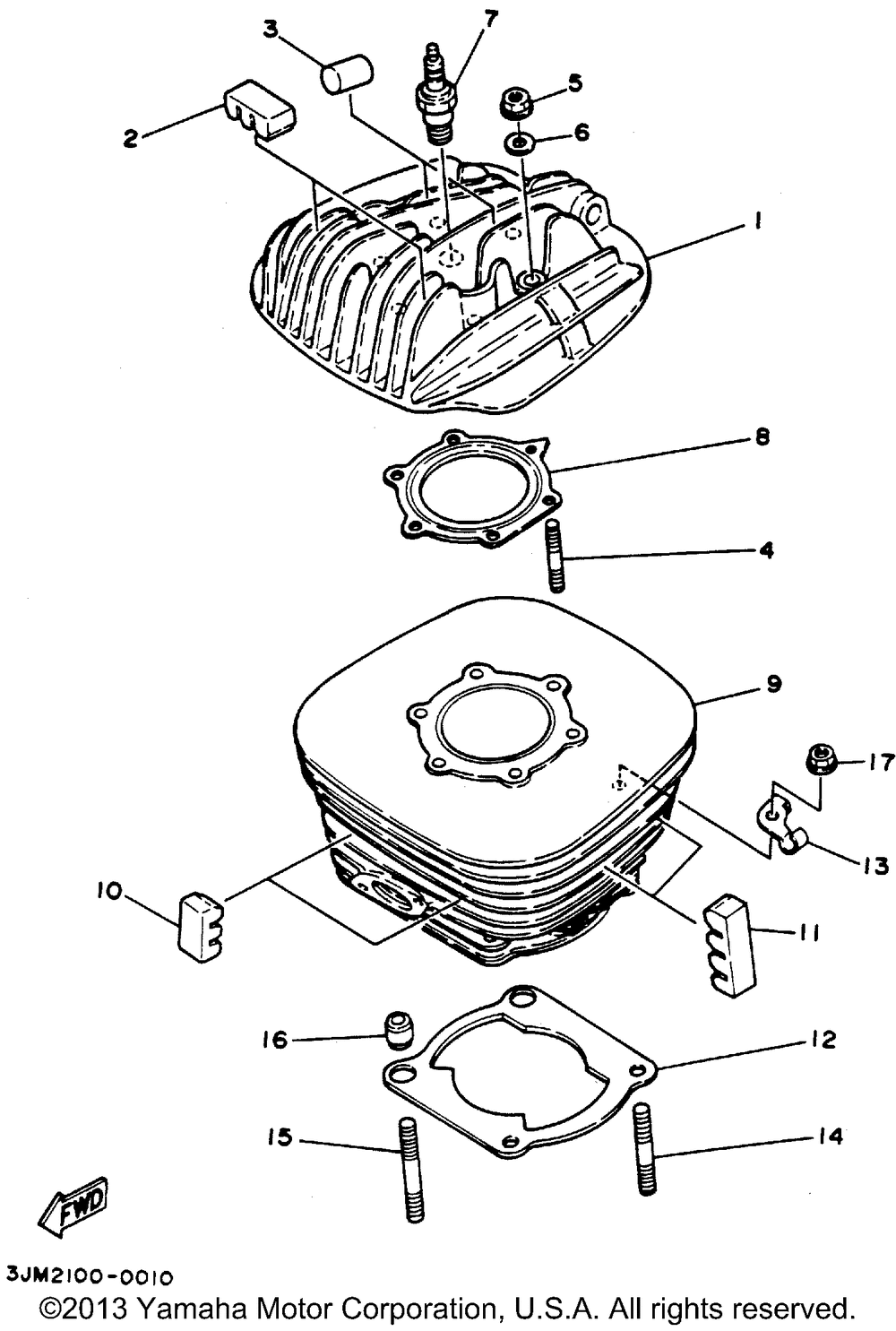
| 1 | HEADCYLINDER 1 | 1 | |
| 2 | ABSORBER 2 | 2 | |
| 3 | ABSORBER 3 ALTERNATE PARTS | 2 | |
| 4 | BOLTSTUD | 6 | |
| 5 | NUT (6L2) | 6 | |
| 6 | WASHERPLATE | 6 | |
| 7 | B8ES NGK SPLUG 4PK (NGK B8ES) (4 per pack) | 1 | |
| 8 | GASKETCYL HEAD 1 | 1 | |
| 9 | CYLINDER 1 (U49) | 1 | |
| 11 | ABSORBER 2 | 4 | |
| 12 | GASKET CYLINDER (U49) | 1 | |
| 13 | HOLDER 1 | 1 | |
| 14 | BOLTSTUD | 2 | |
| 15 | BOLTSTUD | 2 | |
| 16 | . .PIN DOWEL | 2 | |
| 17 | NUTSPEC'L SHAPE (5 per pack) | 4 |
