| № | Наименование | Примечание | Кол-во |
|---|---|---|---|
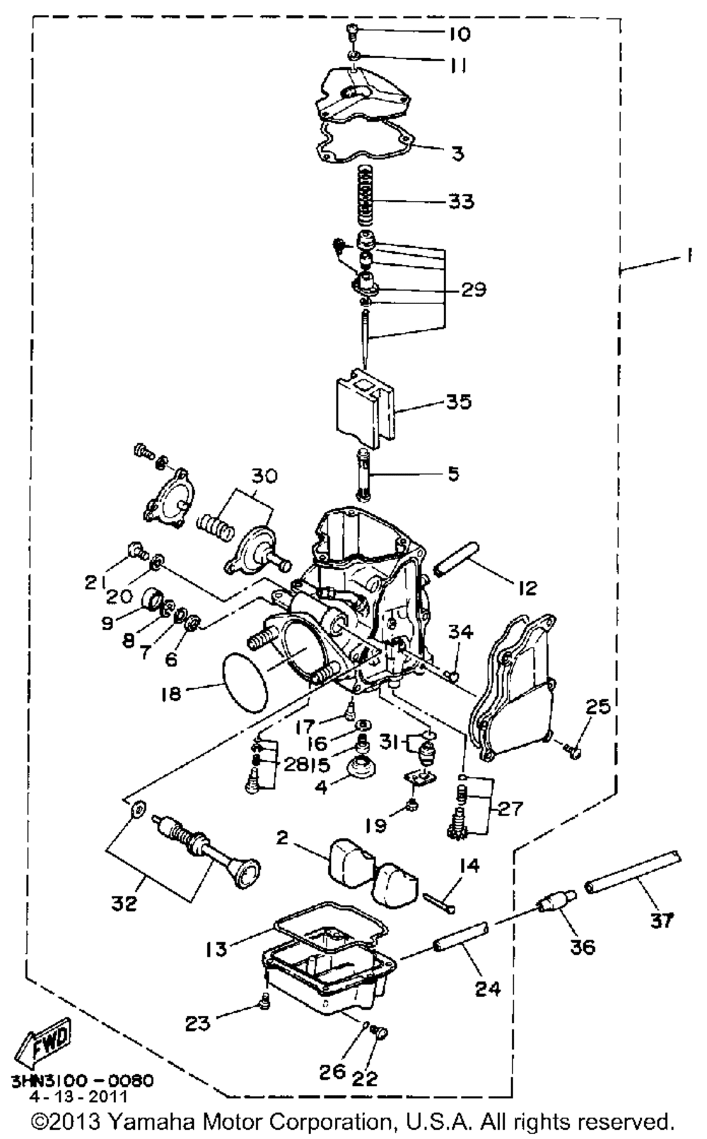
| 1 | CARBURETOR ASSY 1 | 1 | |
| 2 | FLOAT | 1 | |
| 3 | GASKET | 1 | |
| 4 | WASHERMAIN JET | 1 | |
| 5 | NOZZLEMAIN | 1 | |
| 6 | SEAL | 1 | |
| 7 | GASKET | 1 | |
| 8 | CLIP | 1 | |
| 9 | CAP | 1 | |
| 10 | SCREWPAN HEAD | 3 | |
| 11 | WASHERSPRING (5 per pack) | 3 | |
| 12 | HOSE (3GG) | 1 | |
| 13 | O-RING | 1 | |
| 14 | PINFLOAT | 1 | |
| 15 | JETMAIN tahos_120 (tahos_120) | 1 | |
| 16 | WASHERMAIN JET | 1 | |
| 17 | JETPILOT (.45) (tahos_ 45) | 1 | |
| 18 | O-RING | 1 | |
| 19 | SCREW | 1 | |
| 20 | WASHER (5 per pack) | 1 | |
| 21 | SCREW PAN HEAD | 1 | |
| 22 | PLUGDRAIN | 1 | |
| 23 | SCREWPANHEAD | 4 | |
| 24 | HOSE (3GG) | 1 | |
| 25 | . ..SCREW | 6 | |
| 26 | O-RING | 1 | |
| 27 | THROTTLE SCREW SET | 1 | |
| 28 | PILOT SCREW SET | 1 | |
| 29 | NEEDLE SET | 1 | |
| 30 | DIAPHRAM SET 5 | 1 | |
| 31 | NEEDLE VALVE SET | 1 | |
| 32 | PLUNGER STARTER | 1 | |
| 33 | SPRINGTHROTTLE VALV | 1 | |
| 34 | GUIDECABLE END | 1 | |
| 35 | VALVETHROTTLE 1 | 1 | |
| 36 | PIPE | 1 | |
| 37 | TUBE FLEXIBLE (3NV) UR | 1 |
