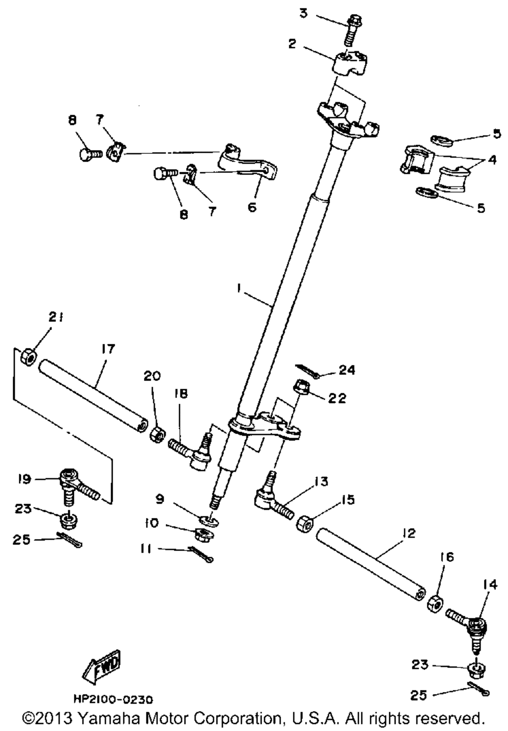
| № | Наименование | Примечание | Кол-во |
|---|---|---|---|
| 1 | COLUMNSTEERING 2 | 1 | |
| 2 | HOLDERHANDLE UPR LGB | 2 | |
| 3 | BOLTFLANGE | 4 | |
| 4 | BEARINGSTEERING | 2 | |
| 5 | OIL SEALSR-TYPE | 2 | |
| 6 | BRACKETSTRG LOWER | 1 | |
| 7 | WASHER LOCK 1 | 2 | |
| 8 | BOLT | 2 | |
| 9 | WASHERPLATE | 1 | |
| 10 | NUTSELF-LOCKING | 1 | |
| 11 | PINCOTTER | 1 | |
| 12 | ROD TIE | 1 | |
| 13 | JOINTUNIV.STD.THR | 1 | |
| 14 | JOINTUNIV.REV.THRUS | 1 | |
| 15 | NUT | 1 | |
| 16 | NUTHEXAGON (L/H THR (L.H. THREAD) | 1 | |
| 22 | NUTCASTLE | 2 |
