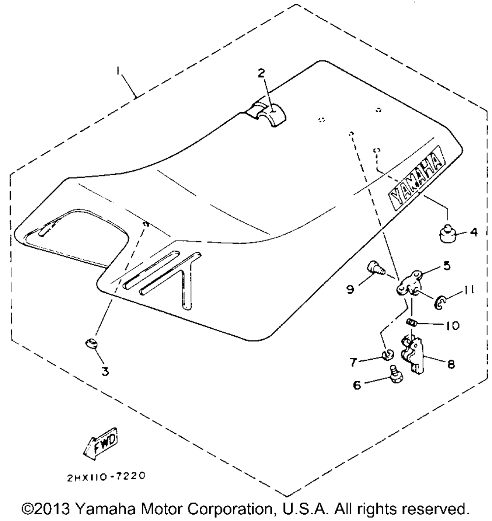
| № | Наименование | Примечание | Кол-во |
|---|---|---|---|
| 1 | SEMI DBL SEAT ASSY U.R. BLUE (FOR OCB) | 1 | |
| 2 | COVERDOUBLE SEAT BLACK | 1 | |
| 3 | DAMPERSEAT | 1 | |
| 4 | STOPPERMAIN STAND | 2 | |
| 5 | BRACKETSEAT LEVER | 1 | |
| 6 | BOLT (661) | 2 | |
| 7 | WASHER (5 per pack) | 2 | |
| 8 | LEVERSEAT | 1 | |
| 9 | PIN | 1 | |
| 10 | SPRINGTORSION | 1 | |
| 11 | CLIP | 1 |
