| № | Наименование | Примечание | Кол-во |
|---|---|---|---|
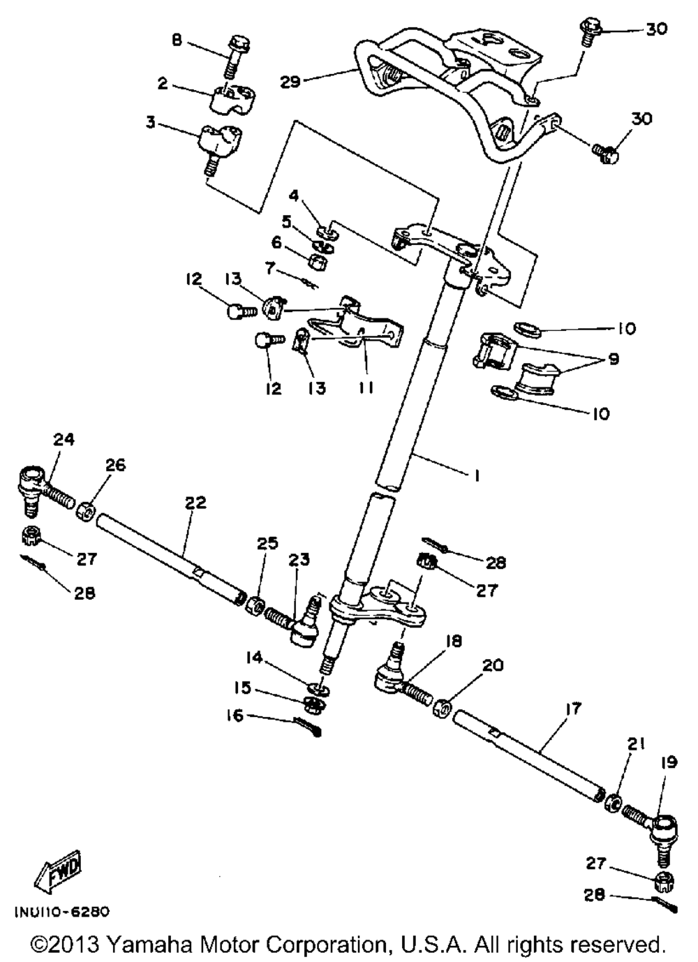
| 1 | COLUMNSTEERING 2 | 1 | |
| 2 | HOLDERHANDLE UPR LGB | 2 | |
| 3 | HOLDERHANDLE LWR | 2 | |
| 4 | WASHERPLATE | 2 | |
| 5 | WASHERSPRING (5 per pack) | 2 | |
| 6 | NUT (3BM) (95301-10600-00) | 2 | |
| 7 | CLIP (5 per pack) | 2 | |
| 8 | BOLTFLANGE | 4 | |
| 9 | BEARINGSTEERING | 2 | |
| 10 | OIL SEALSR-TYPE | 2 | |
| 11 | BRACKETSTRG LOWER | 1 | |
| 12 | BOLT | 2 | |
| 13 | WASHER LOCK 1 | 2 | |
| 15 | NUTSELF-LOCKING | 1 | |
| 16 | PINCOTTER | 1 | |
| 17 | ROD TIE | 1 | |
| 18 | JOINTUNIV.STD.THR | 1 | |
| 19 | JOINTUNIV.REV.THRUS | 1 | |
| 20 | NUT | 1 | |
| 21 | NUTHEXAGON (L/H THR (L.H. THREAD) | 1 | |
| 27 | NUTCASTLE | 4 | |
| 29 | STAYHEADLIGHT | 1 | |
| 30 | BOLTFLANGE | 4 |
