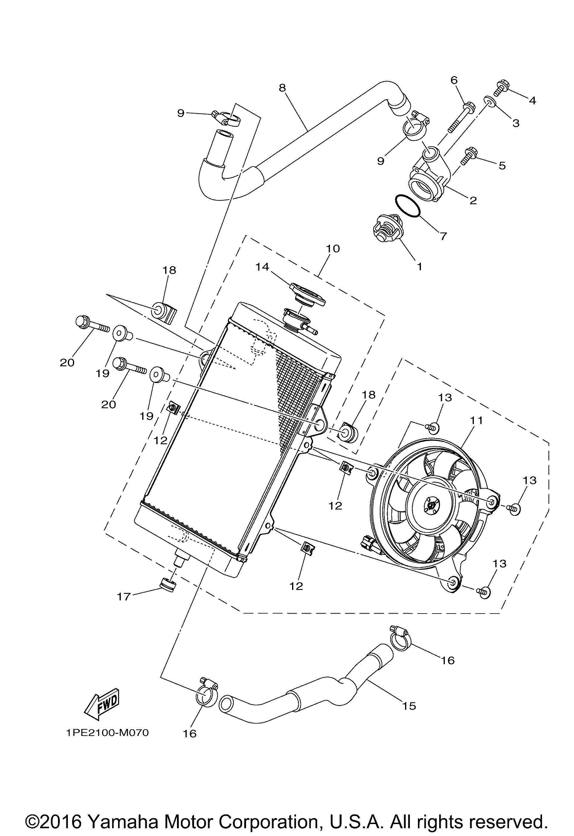
RADIATOR HOSE

Корзина пуста