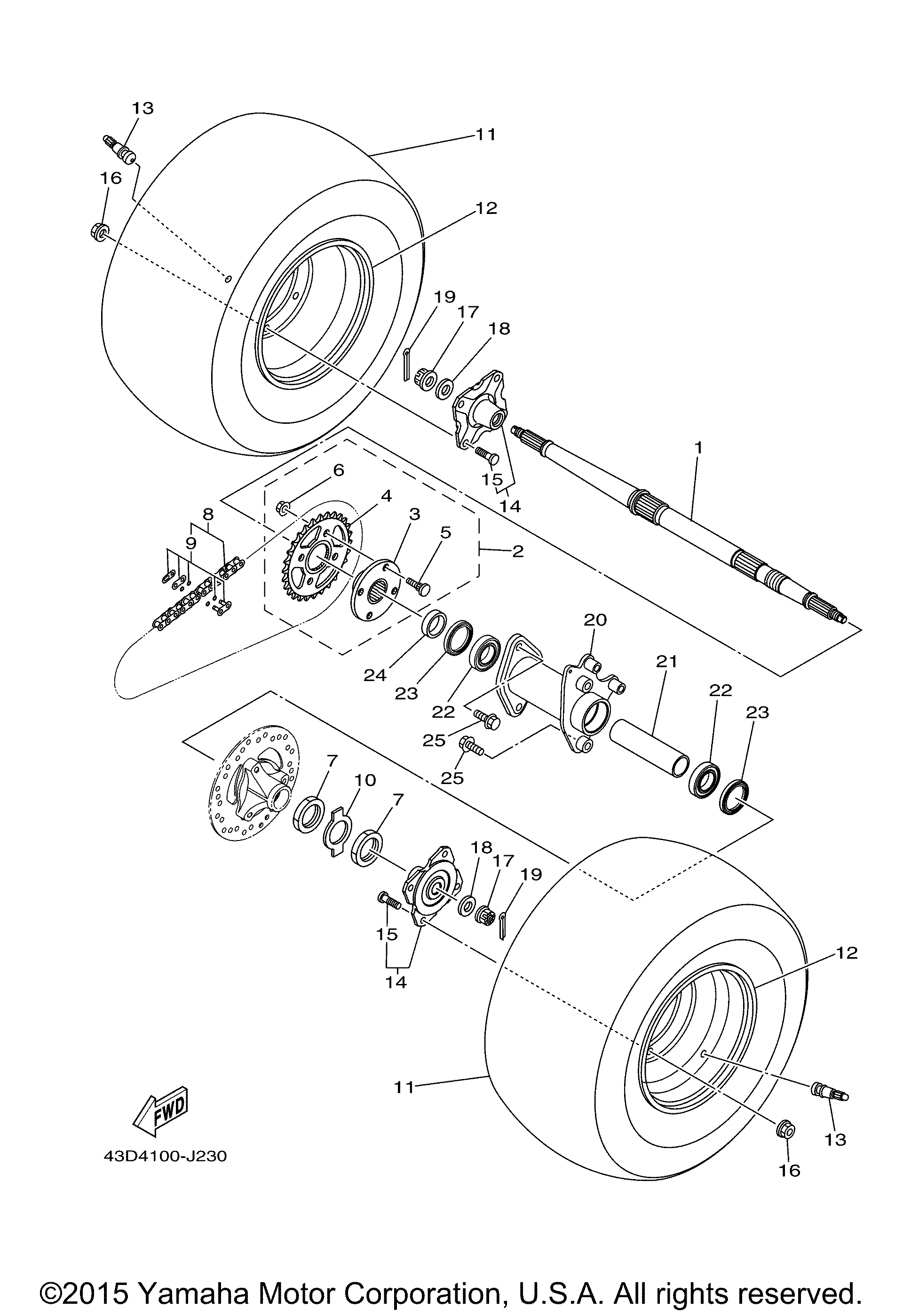
| № | Наименование | Примечание | Кол-во |
|---|---|---|---|
| 1 | AXLE WHEEL | 1 | |
| 2 | SPROCKET ASSY | 1 | |
| 3 | COLLAR SPROCKET AXL | 1 | |
| 4 | SPROCKET DRIVEN (28 (28T) | 1 | |
| 5 | BOLT | 4 | |
| 6 | NUT REAR FENDER | 4 | |
| 7 | NUT | 2 | |
| 8 | CHAIN | 1 | |
| 9 | MASTER LINK | 1 | |
| 10 | WASHER | 1 | |
| 11 | TIRE (AT18 X 9-8 M94 (AT18 X 9-8 M940) MAXXIS | 2 | |
| 12 | REAR WHEEL COMP. | 2 | |
| 13 | AIR VALVE ASSY | 2 | |
| 14 | COLLAR WHEEL | 2 | |
| 15 | BOLT | 4 | |
| 16 | NUT | 8 | |
| 17 | NUT AXLE | 2 | |
| 18 | WASHER 1 | 2 | |
| 19 | PINCOTTER (5 per pack) | 2 | |
| 20 | HUB REAR | 1 | |
| 21 | SPACER BEARING | 1 | |
| 22 | BEARING | 2 | |
| 23 | SEAL DUST | 2 | |
| 24 | SPACER | 1 | |
| 25 | BOLT | 4 |
