| № | Наименование | Примечание | Кол-во |
|---|---|---|---|
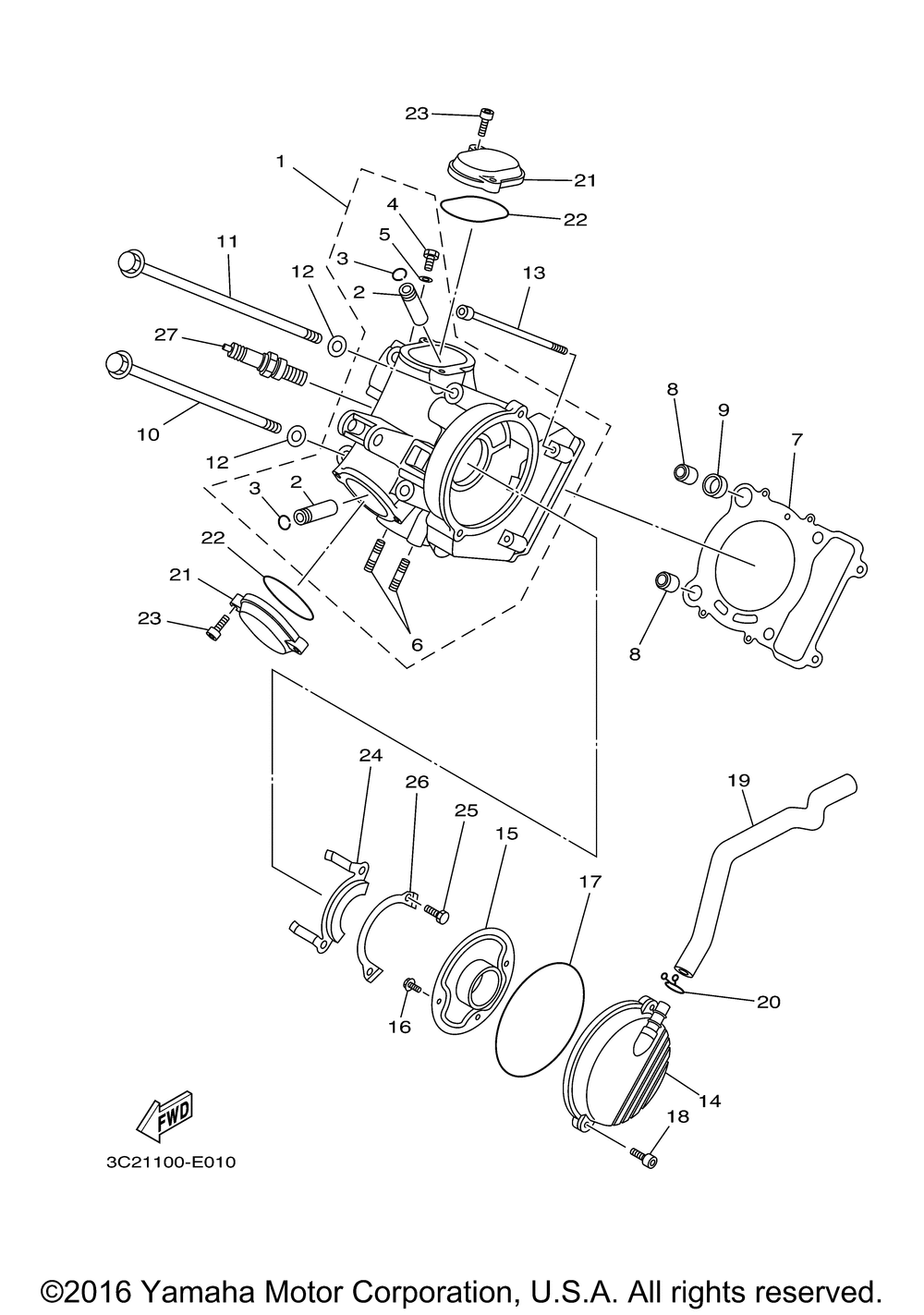
| 1 | CYLINDER HEAD ASSY | 1 | |
| 2 | GUIDEINTAKE VALVE | 2 | |
| 3 | CIRCLIPOUTER | 2 | |
| 4 | BOLTUNION | 1 | |
| 5 | GASKET (5 per pack) | 1 | |
| 6 | BOLTSTUD 3 | 2 | |
| 7 | GASKETCYLINDER HEAD | 1 | |
| 8 | PINDOWEL (59V) | 2 | |
| 9 | GASKET | 1 | |
| 10 | BOLT FLANGE | 2 | |
| 11 | BOLT FLANGE | 2 | |
| 12 | WASHERPLATE | 4 | |
| 13 | BOLT | 2 | |
| 14 | BREATHER ASSY | 1 | |
| 15 | PLATEBREATHER | 1 | |
| 16 | BOLT FLANGE | 2 | |
| 17 | O-RING | 1 | |
| 18 | BOLT (4MY) | 2 | |
| 19 | PIPE BREATHER 1 | 1 | |
| 20 | CLIP | 1 | |
| 21 | COVER CYLINDER HEAD | 2 | |
| 22 | O-RING | 2 | |
| 23 | BOLT (3JB) | 4 | |
| 24 | PLATE | 1 | |
| 25 | BOLT (661) | 2 | |
| 26 | WASHER LOCK | 1 | |
| 27 | DR8EA NGK SPLUG 10 (NGK DR8EA) UR (10 per pack) | 1 |
