| № | Наименование | Примечание | Кол-во |
|---|---|---|---|
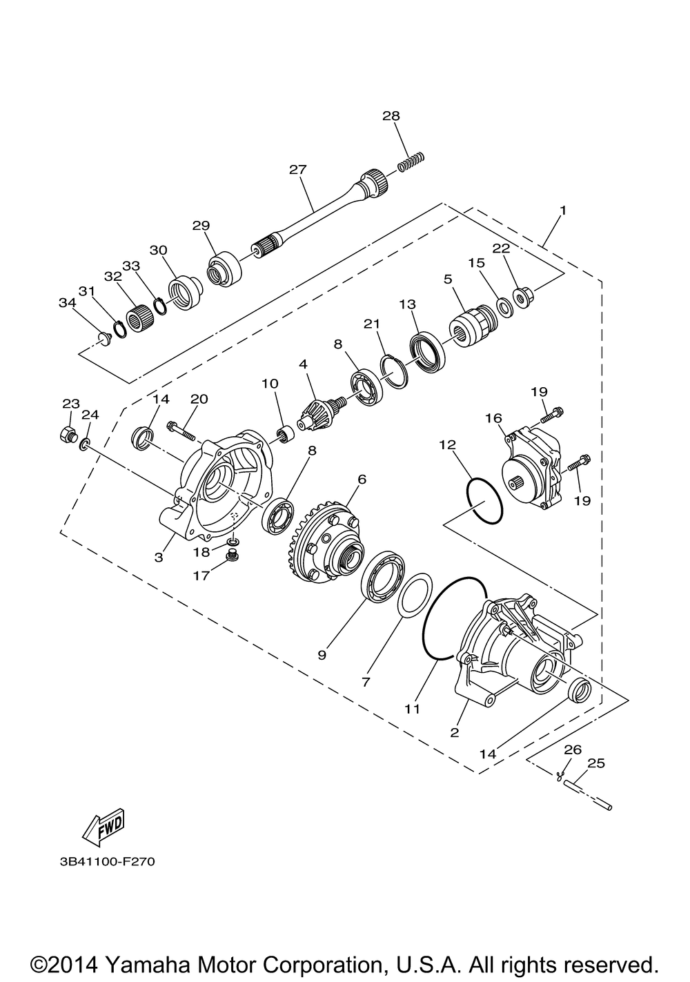
| 1 | FRONT AXLE GEAR CASE | 1 | |
| 2 | HOUSING BEARING 2 | 1 | |
| 3 | HOUSING SHAFT DRIVE | 1 | |
| 4 | PINION DRIVE 2 | 1 | |
| 5 | CUPLING | 1 | |
| 6 | LIMITED SLIP DIFF. A | 1 | |
| 7 | SHIM RING GEAR (0.1 (0.1T) UR | 1 | |
| 7 | SHIM RING GEAR (0.2 (0.2T) UR | 1 | |
| 7 | SHIM RING GEAR (0.3 (0.3T) UR | 1 | |
| 7 | SHIM RING GEAR (0.4 (0.4T) UR | 1 | |
| 8 | BEARING | 2 | |
| 9 | BEARING 1 | 1 | |
| 10 | BEARING 3 | 1 | |
| 11 | O-RING 1 | 1 | |
| 12 | O-RING 2 | 1 | |
| 13 | OIL SEAL | 1 | |
| 14 | SEALOIL 1 | 2 | |
| 15 | WASHER | 1 | |
| 16 | SERVO MOTOR COMP | 1 | |
| 17 | PLUGSTRAIGHT SCREW | 1 | |
| 18 | GASKET | 1 | |
| 19 | BOLT FLANGE | 3 | |
| 20 | BOLT FLANGE | 5 | |
| 21 | RINGHOLE SNAP 1 | 1 | |
| 22 | NUT 1 | 1 | |
| 23 | PLUGSTRAIGHT SCRW | 1 | |
| 24 | GASKET | 1 | |
| 25 | HOSE (L950) | 1 | |
| 26 | CLIPSCISSOR | 1 | |
| 27 | SHAFT DRIVE 2 | 1 | |
| 28 | SPRING COMPRESSION | 1 | |
| 29 | SEAL 2 | 1 | |
| 30 | SEAL 1 | 1 | |
| 31 | CIRCLIPS-TYPE | 1 | |
| 32 | COUPLING | 1 | |
| 33 | CIRCLIPS-TYPE (5 per pack) | 1 | |
| 34 | DAMPER | 1 |
