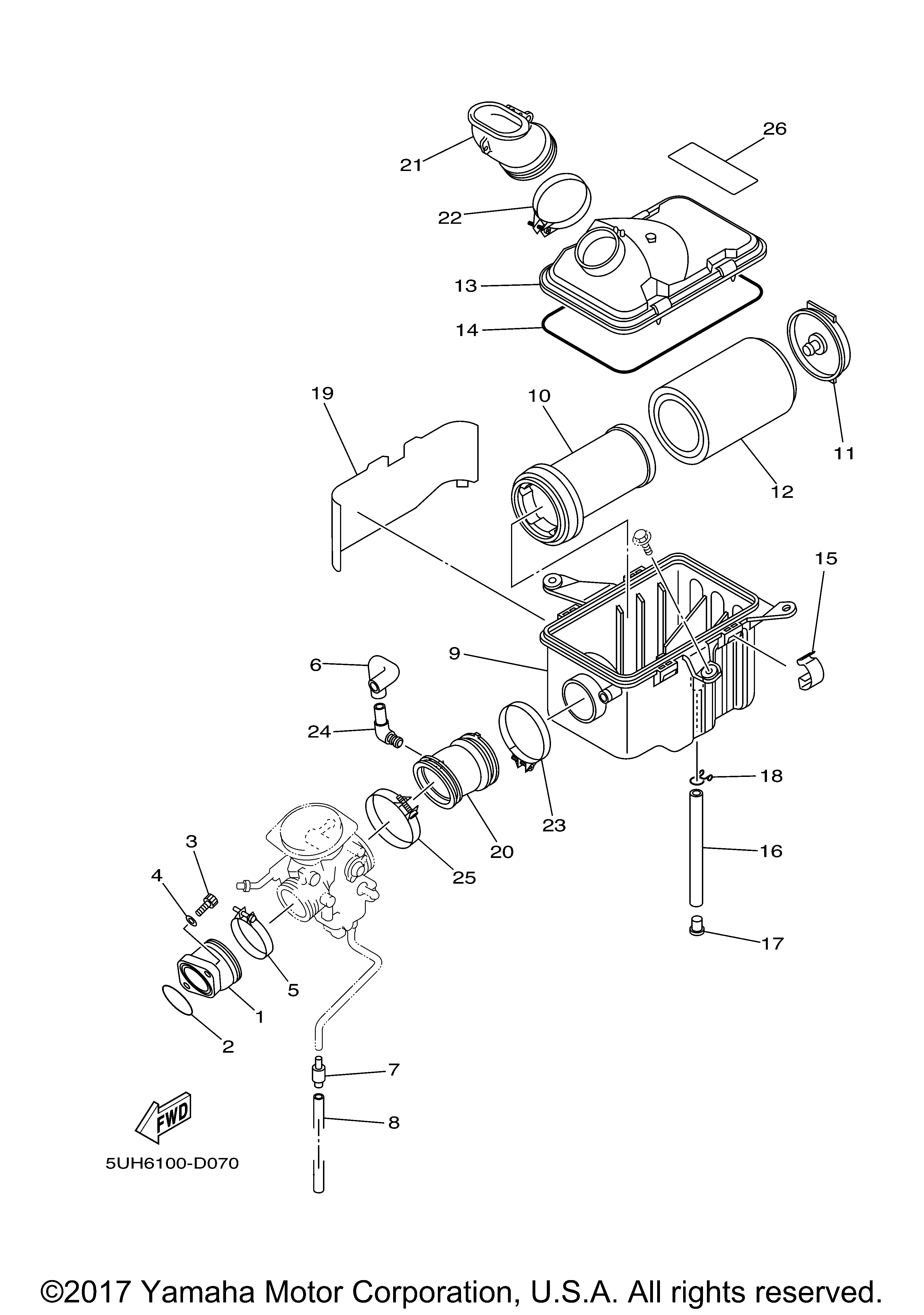
| № | Наименование | Примечание | Кол-во |
|---|---|---|---|
| 1 | JOINT CARBURETOR 1 | 1 | |
| 2 | O-RING | 1 | |
| 3 | BOLTSOCKET | 2 | |
| 4 | WASHER PLATE | 2 | |
| 5 | HOSE CLAMP ASSY | 1 | |
| 6 | PIPE | 1 | |
| 7 | PIPE | 1 | |
| 8 | TUBE FLEXIBLE (3NV) | 1 | |
| 9 | CASE AIR CLEANER | 1 | |
| 10 | GUIDE | 1 | |
| 11 | PLATEELEMENT FIT (E | 1 | |
| 12 | ELEMENT AIR FILTER | 1 | |
| 13 | CAP CLEANER CASE | 1 | |
| 14 | SEAL | 1 | |
| 15 | CLIP CAP FITTING | 4 | |
| 16 | PIPE DRAIN | 1 | |
| 17 | PLUG DRAIN | 1 | |
| 18 | CLIP DRAIN CLEANE | 1 | |
| 19 | PROTECTOR | 1 | |
| 20 | JOINT AIR CLEANER | 1 | |
| 21 | DUCT | 1 | |
| 22 | HOSE CLAMP ASSY | 1 | |
| 24 | PIPE | 1 | |
| 26 | PLATE EPA OFFROAD A | 1 |
