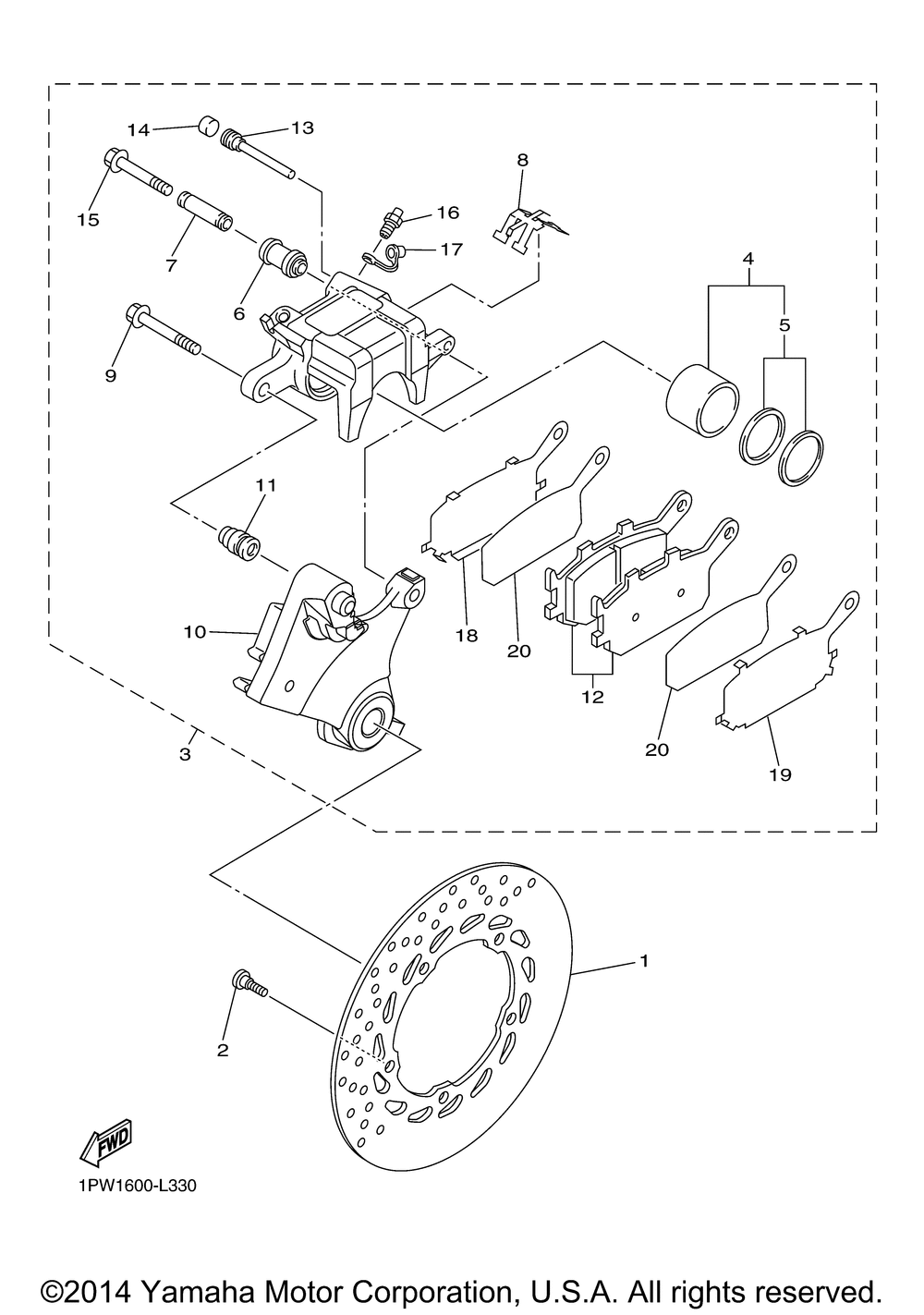
| № | Наименование | Примечание | Кол-во |
|---|---|---|---|
| 1 | DISK REAR BRAKE 2 | 1 | |
| 2 | BOLTHEX. SOCKET BUT | 5 | |
| 3 | CALIPER ASSY REAR 2 | 1 | |
| 4 | PISTON ASSY CALIPER | 1 | |
| 5 | CALIPER SEAL KIT | 1 | |
| 6 | BOOT CALIPER | 1 | |
| 7 | SLEEVE CALIPER | 1 | |
| 8 | SUPPORT PAD | 1 | |
| 9 | PIN SLIDE | 1 | |
| 10 | BRACKET SUPPORT | 1 | |
| 11 | BOOTCALIPER | 1 | |
| 12 | BRAKE PAD KIT 2 | 1 | |
| 13 | BRAKE PAD PIN | 1 | |
| 14 | PLUG | 1 | |
| 15 | BOLT | 1 | |
| 16 | BLEED SCREW KIT | 1 | |
| 17 | Колпачок штуцера прокачки | 1 | |
| 18 | SHIM CALIPER | 1 | |
| 19 | SHIM CALIPER | 1 | |
| 20 | SHIM CALIPER | 2 |
