| № | Наименование | Примечание | Кол-во |
|---|---|---|---|
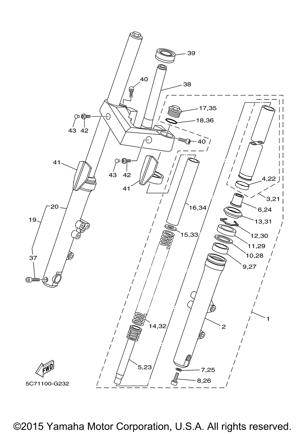
| 1 | FRONT FORK ASSY (L.H (L.H) | 1 | |
| 2 | TUBE OUTER (LEFT) (L.H) | 1 | |
| 3 | INNER TUBE COMP.1 | 1 | |
| 4 | METAL SLIDE | 1 | |
| 5 | CYLINDER COMP. FRON | 1 | |
| 6 | SPINDLE TAPER | 1 | |
| 7 | GASKET | 1 | |
| 8 | BOLTHEX SCKT HEAD | 1 | |
| 9 | METAL SLIDE 1 | 1 | |
| 10 | WASHEROIL SEAL | 1 | |
| 11 | OIL SEAL | 1 | |
| 12 | RINGSNAP | 1 | |
| 13 | SEAL DUST | 1 | |
| 14 | SPRING FRONT FORK | 1 | |
| 15 | WASHER SPRING UPPER | 1 | |
| 16 | SPACER | 1 | |
| 17 | BOLT CAP | 1 | |
| 18 | O-RING | 1 | |
| 19 | FRONT FORK ASSY (R.H (R.H) | 1 | |
| 20 | TUBE OUTER (RIGHT) | 1 | |
| 37 | BOLT (3JP) | 1 | |
| 38 | UNDER BRACKET COMP. | 1 | |
| 39 | BEARING | 1 | |
| 40 | BOLT SOCKET | 4 | |
| 41 | COVER | 2 | |
| 42 | BOLT | 2 | |
| 43 | PLUGSPEC'L SHAPE (CROME) | 2 |
