| № | Наименование | Примечание | Кол-во |
|---|---|---|---|
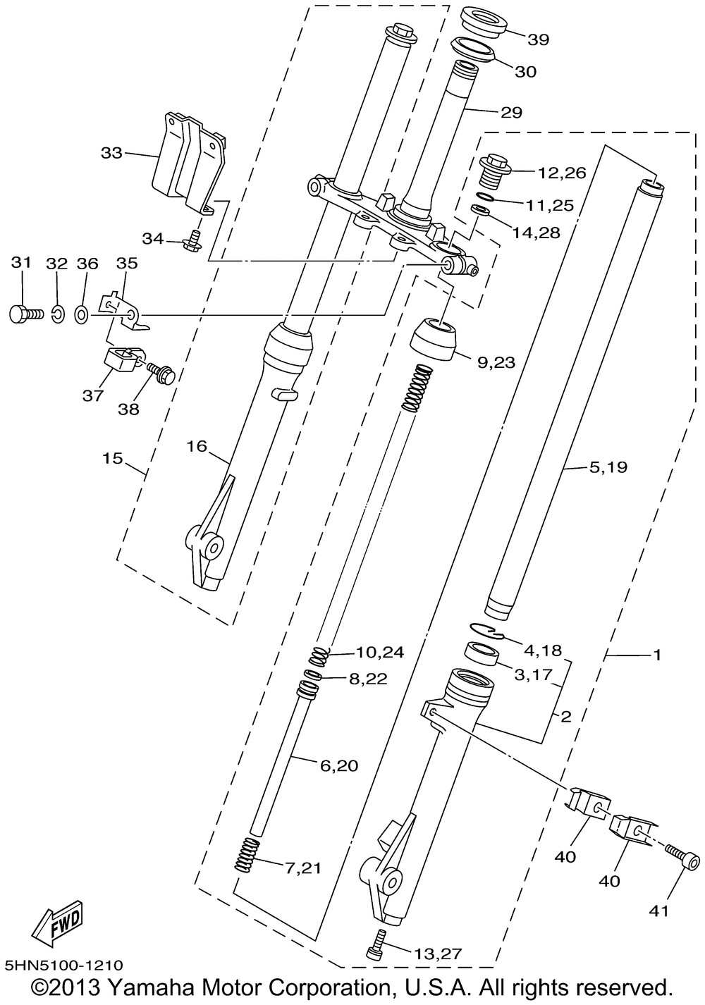
| 1 | FRONT FORK ASSY (L.H (L.H) | 1 | |
| 2 | TUBE OUTER (LEFT) (LEFT) | 1 | |
| 3 | OIL SEAL | 1 | |
| 4 | CLIPOIL SEAL | 1 | |
| 5 | INNER TUBE 1 | 1 | |
| 6 | TUBE OUTER LEFT | 1 | |
| 7 | SPRINGREBOUND | 1 | |
| 8 | RINGPISTON FRTFRK | 1 | |
| 9 | SEALDUST | 1 | |
| 10 | SPRINGFRONT FORK | 1 | |
| 11 | O-RING | 1 | |
| 12 | BOLTCAP | 1 | |
| 13 | BOLTHEX SCKT HEAD | 1 | |
| 14 | SEATSPRING UPPER | 1 | |
| 15 | FRONT FORK ASSY (R.H (R.H) | 1 | |
| 16 | TUBE OUTER (RIGHT) (RIGHT) | 1 | |
| 29 | UNDER BRACKET COMP. | 1 | |
| 30 | SEALSTEERING | 1 | |
| 31 | BOLT 1 | 2 | |
| 32 | WASHERSPRING (5 per pack) | 2 | |
| 33 | STAY PLATE | 1 | |
| 34 | BOLT | 2 | |
| 35 | BRACKET | 1 | |
| 36 | WASHER (5 per pack) | 1 | |
| 37 | HOLDER | 1 | |
| 38 | BOLT (7EA) | 1 | |
| 39 | RACEBALL 2 | 1 | |
| 40 | CLAMP | 2 | |
| 41 | BOLT (4MY) | 1 |
