| № | Наименование | Примечание | Кол-во |
|---|---|---|---|
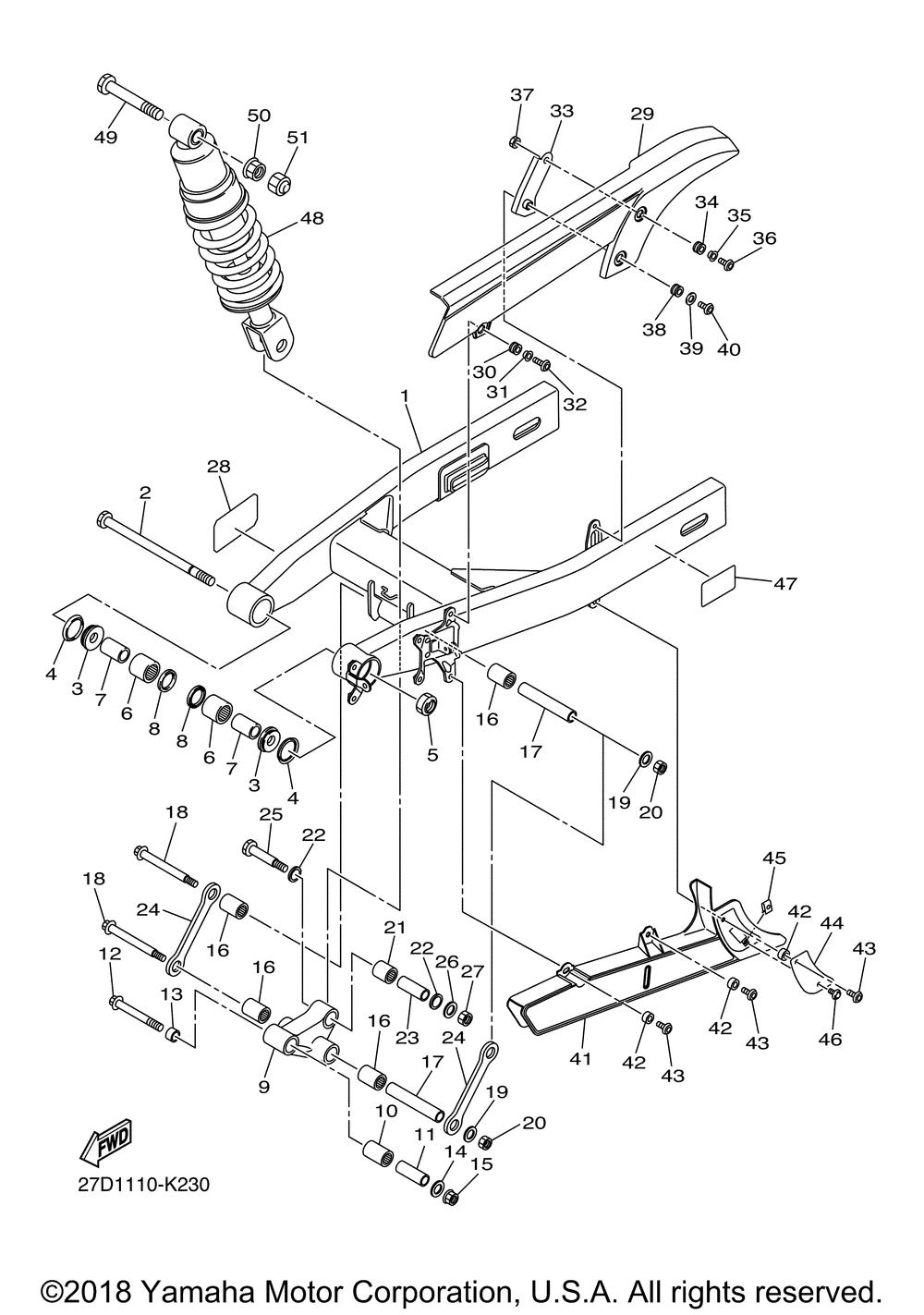
| 1 | REAR ARM COMP. | 1 | |
| 2 | SHAFT PIVOT | 1 | |
| 3 | COLLAR | 2 | |
| 4 | OIL SEAL | 2 | |
| 5 | NUT SELF-LOCKING | 1 | |
| 6 | BEARING | 2 | |
| 7 | COLLAR | 2 | |
| 8 | OIL SEAL | 2 | |
| 9 | ARM RELAY | 1 | |
| 10 | BEARINGCYL.tahos_17 | 1 | |
| 11 | COLLAR | 1 | |
| 12 | BOLT FLANGE | 1 | |
| 13 | COLLAR | 1 | |
| 14 | WASHER PLATE | 1 | |
| 15 | NUTSPEC'L SHAPE | 1 | |
| 16 | BEARINGCYL.tahos_17 | 4 | |
| 17 | COLLAR | 2 | |
| 18 | BOLT | 2 | |
| 19 | WASHER PLATE | 2 | |
| 20 | NUT U | 2 | |
| 21 | BEARING CYL.(3YL) | 1 | |
| 22 | OIL SEAL | 2 | |
| 23 | COLLAR | 1 | |
| 24 | ARM 1 | 2 | |
| 25 | BOLT | 1 | |
| 26 | WASHER PLATE | 1 | |
| 27 | NUTU | 1 | |
| 28 | PROTECTOR | 1 | |
| 29 | Кожух Цепи (CASE, CHAIN) (10005030/030320/0062313, ЯПОНИЯ) | 1 | |
| 30 | GROMMET | 1 | |
| 31 | COLLAR | 1 | |
| 32 | SCREWSPEC'L SHAPE | 1 | |
| 33 | STAY CHAIN CASE | 1 | |
| 36 | BOLT | 1 | |
| 37 | NUT (5 per pack) | 1 | |
| 39 | WASHER PLATE | 1 | |
| 41 | CASE CHAIN 2 | 1 | |
| 42 | COLLAR | 3 | |
| 44 | PLATE GUIDE 1 | 1 | |
| 45 | NUT SPRING (4ES) | 1 | |
| 46 | SCREWSPEC'L SHAPE | 1 | |
| 47 | LABEL TIRE | 1 | |
| 48 | SHOCK ABSORBER ASSY | 1 | |
| 49 | BOLT | 1 | |
| 51 | CAP | 1 |
