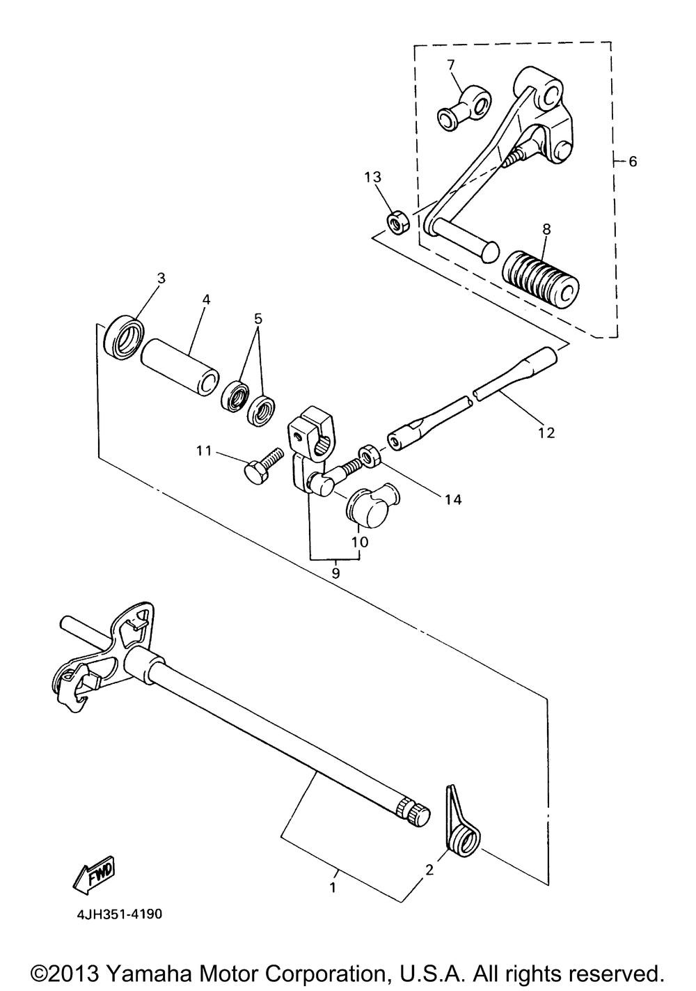
| № | Наименование | Примечание | Кол-во |
|---|---|---|---|
| 1 | SHIFT SHAFT ASSY | 1 | |
| 2 | SPRINGTORSION | 1 | |
| 3 | OIL SEALSD-TYPE (SD 12-22-5 HS) | 1 | |
| 4 | SPACER | 1 | |
| 5 | OIL SEAL | 2 | |
| 6 | SHIFT PEDAL ASSY | 1 | |
| 7 | COVERDUST | 1 | |
| 8 | COVERSHIFT PEDAL | 1 | |
| 9 | SHIFT SHAFT ASSY. | 1 | |
| 11 | BOLT HEXAGON | 1 | |
| 12 | ROD SHIFT | 1 | |
| 13 | NUTHEXAGON | 1 | |
| 14 | NUT | 1 |
