| № | Наименование | Примечание | Кол-во |
|---|---|---|---|
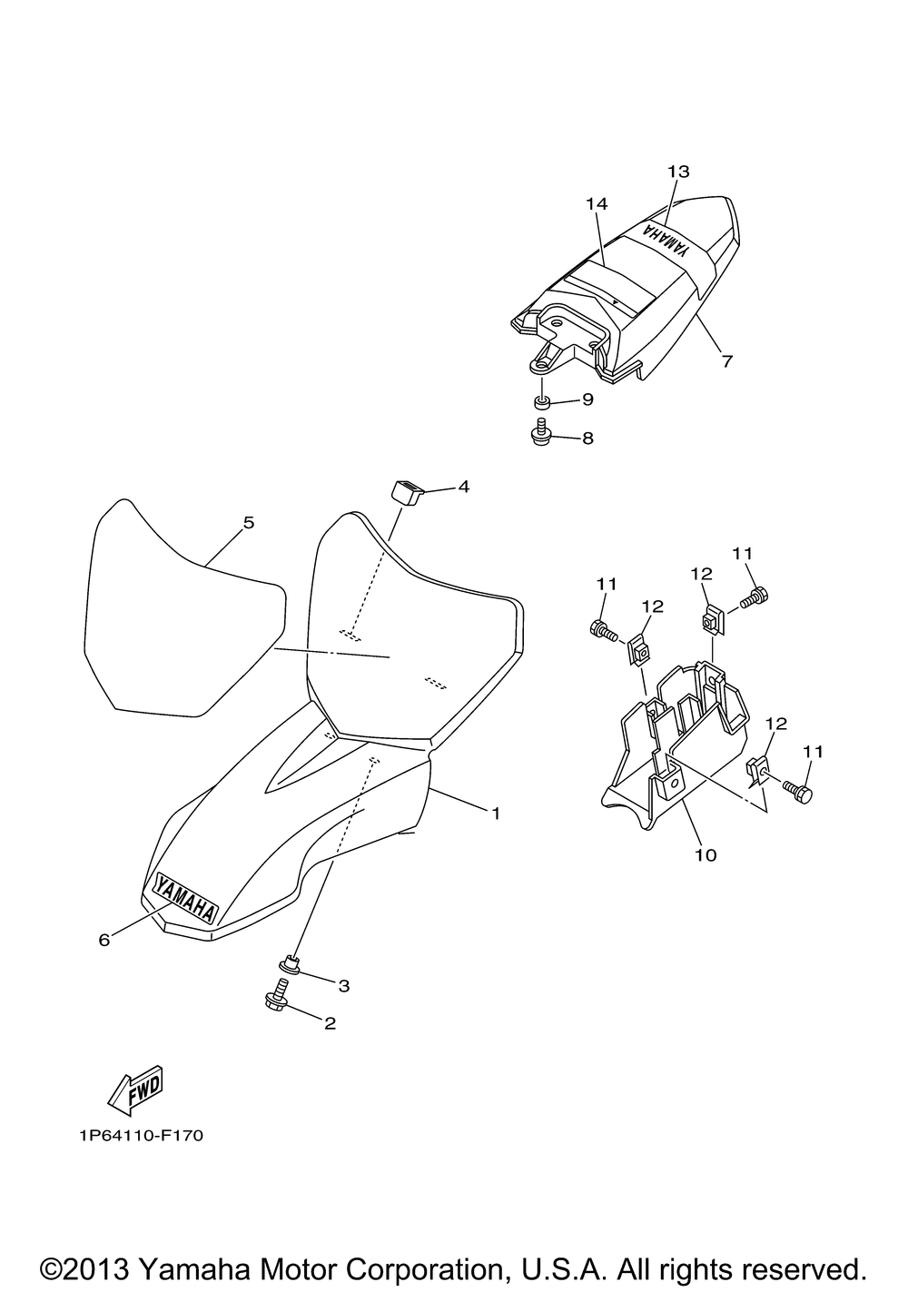
| 1 | FENDER FRONT | 1 | |
| 2 | BOLT FLANGE | 2 | |
| 3 | COLLAR | 2 | |
| 4 | GROMMET | 2 | |
| 5 | GRAPHIC 1 | 1 | |
| 6 | EMBLEM YAMAHA | 1 | |
| 7 | FENDER REAR | 1 | |
| 8 | SCREW BIND (5 per pack) | 3 | |
| 9 | COLLAR | 3 | |
| 10 | BOX | 1 | |
| 11 | BOLT WITH WASHER | 3 | |
| 12 | NUTSPRING | 3 | |
| 13 | EMBLEM 1 | 1 | |
| 14 | LABEL CAUTION | 1 |
