| № | Наименование | Примечание | Кол-во |
|---|---|---|---|
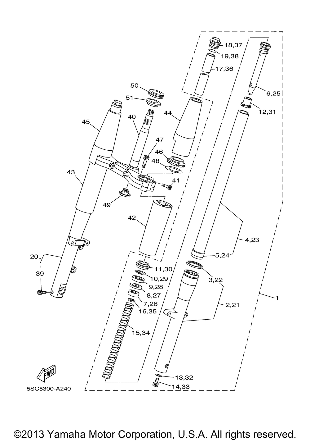
| 1 | FRONT FORK ASSY (L.H (L.H) | 1 | |
| 2 | TUBE OUTER (LEFT) (LEFT) | 1 | |
| 3 | GUIDE BOOT | 1 | |
| 4 | INNER TUBE COMP.1 | 1 | |
| 5 | PISTONFRONT FORK | 1 | |
| 6 | CYLINDER COMP. FR | 1 | |
| 7 | METALSLIDE 1 | 1 | |
| 8 | WASHEROIL SEAL | 1 | |
| 9 | OIL SEAL | 1 | |
| 10 | CLIPOIL SEAL | 1 | |
| 11 | SEALDUST | 1 | |
| 12 | SPINDLE TAPER (KYB) | 1 | |
| 13 | GASKET (KYB) | 1 | |
| 14 | BOLT HEXAGON SOCKET | 1 | |
| 15 | SPRINGFRONT FORK | 1 | |
| 16 | WASHER SPRING UPP | 1 | |
| 17 | SPACER | 1 | |
| 18 | BOLT CAP | 1 | |
| 19 | O-RING | 1 | |
| 20 | FRONT FORK ASSY (R.H (R.H) | 1 | |
| 21 | TUBE OUTER (RIGHT) (RIGHT) | 1 | |
| 39 | BOLT (3JP) | 1 | |
| 40 | UNDER BRACKET COMP | 1 | |
| 41 | BOLT SOCKET HEAD | 4 | |
| 42 | COVER LOWER 1 | 1 | |
| 43 | COVER LOWER 2 | 1 | |
| 44 | COVER UPPER 1 | 1 | |
| 45 | COVER UPPER 2 | 1 | |
| 46 | GASKET | 2 | |
| 47 | BOLT SPECIAL | 6 | |
| 48 | WASHER FELT | 2 | |
| 49 | COVERLOWER 1 | 1 | |
| 50 | BEARINGSPECIAL | 1 | |
| 51 | SEALSTEERING | 1 |
