| № | Наименование | Примечание | Кол-во |
|---|---|---|---|
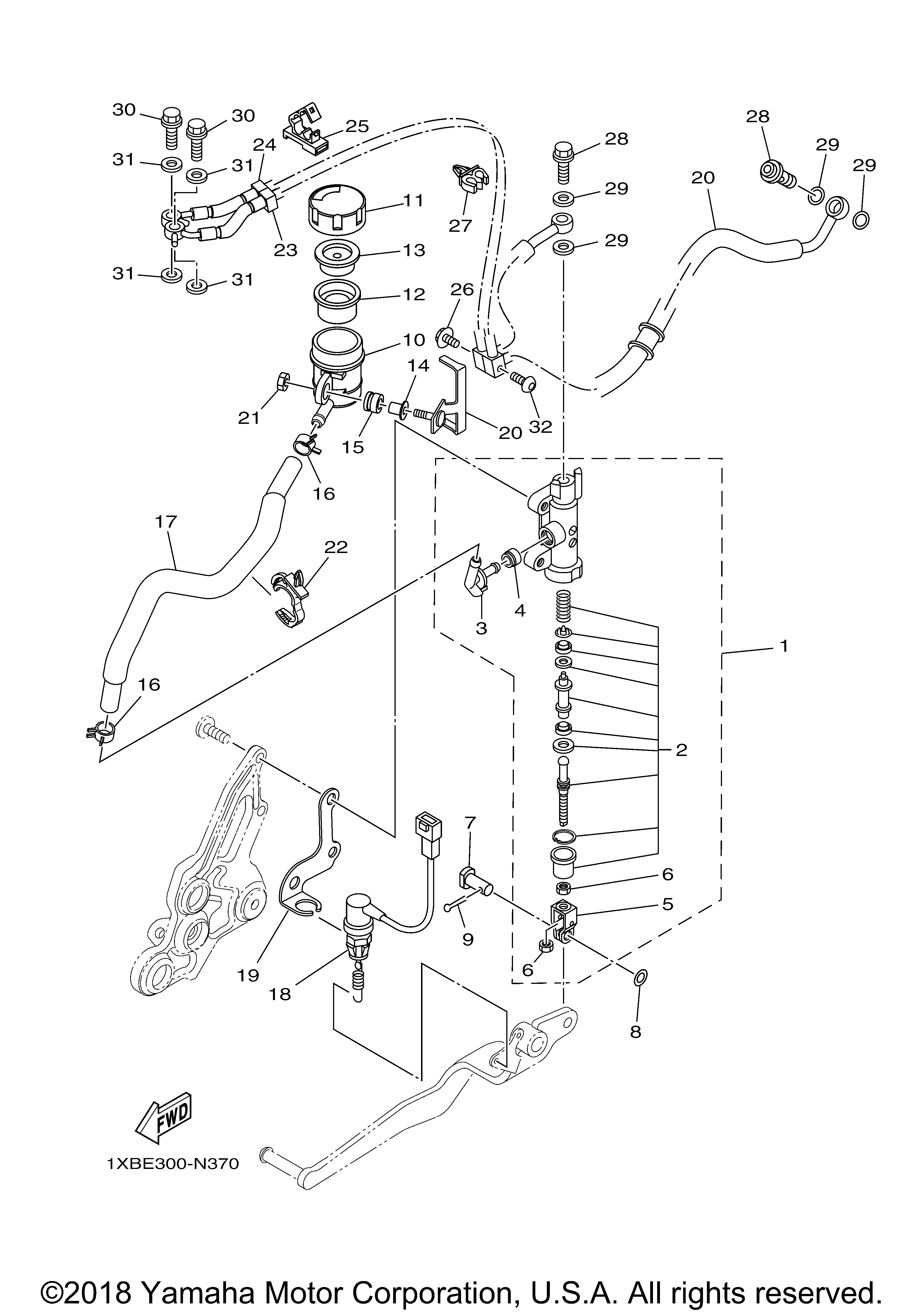
| 1 | REAR MASTER CYLINDER ASSY. | 1 | |
| 2 | CYLINDER KIT MASTER | 1 | |
| 3 | JOINT | 1 | |
| 4 | O-RING | 1 | |
| 5 | JOINT | 1 | |
| 6 | NUT | 2 | |
| 7 | PIN CLEVIS | 1 | |
| 8 | WASHER PLATE | 1 | |
| 9 | Шплинт | 1 | |
| 10 | TANK RESERVOIR | 1 | |
| 11 | CAP RESERVOIR | 1 | |
| 12 | DIAPHRAGM RESERVOIR | 1 | |
| 13 | BUSHDIAPHRAGM | 1 | |
| 14 | COLLAR | 1 | |
| 15 | GROMMET | 1 | |
| 16 | CLIPSCISSOR | 2 | |
| 17 | HOSE RESERVOIR | 1 | |
| 18 | STOP SWITCH ASSY | 1 | |
| 19 | STAY STOP SWITCH | 1 | |
| 20 | HOLDER RESERVE TA | 1 | |
| 21 | NUT FLANGE 3GM (BLA | 1 | |
| 22 | CLAMP | 1 | |
| 23 | HOSE BRAKE | 1 | |
| 24 | BRAKE HOSE ASSY 5 | 1 | |
| 25 | CLAMP | 1 | |
| 26 | BOLT FLANGE | 1 | |
| 27 | CLAMP | 1 | |
| 28 | BOLT UNION | 2 | |
| 29 | GASKET | 4 | |
| 30 | BOLT UNION | 2 | |
| 32 | BOLT BUTTON HEAD | 1 |
