| № | Наименование | Примечание | Кол-во |
|---|---|---|---|
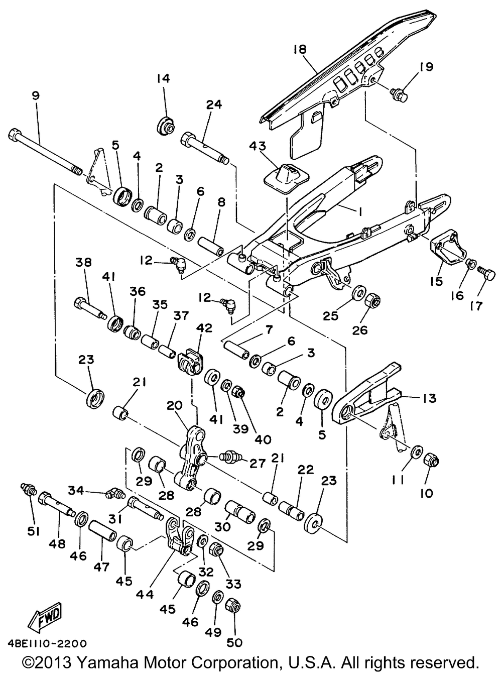
| 1 | REAR ARM GRAY METALLIC | 1 | |
| 2 | BUSHSPEC'L NYLON | 2 | |
| 3 | BUSHSOLID | 2 | |
| 4 | SHIM | 1 | |
| 5 | COVERTHRUST 1 | 2 | |
| 6 | OIL SEALSDO-TYPE | 2 | |
| 7 | COLLAR | 1 | |
| 8 | COLLAR | 1 | |
| 9 | SHAFTPIVOT | 1 | |
| 10 | NUTSELF-LOCKING | 1 | |
| 11 | WASHERPLATE | 1 | |
| 12 | NIPPLEGREASE | 2 | |
| 13 | SEALGUARD | 1 | |
| 14 | CAP | 1 | |
| 15 | SUPPORTCHAIN | 1 | |
| 16 | COLLAR | 2 | |
| 17 | BOLT FLANGE | 2 | |
| 18 | CASECHAIN | 1 | |
| 19 | BOLTWITH WASHER | 2 | |
| 20 | ARMRELAY | 1 | |
| 21 | BUSHSPEC'L NYLON | 2 | |
| 22 | COLLAR | 1 | |
| 23 | COVERTHRUST 1 | 2 | |
| 24 | BOLTWASHER BASED | 1 | |
| 25 | WASHERPLATE | 1 | |
| 26 | NUTU | 1 | |
| 27 | NIPPLEGREASE | 1 | |
| 28 | BUSHSPEC'L NYLON | 2 | |
| 30 | COLLAR | 1 | |
| 31 | BOLT | 1 | |
| 32 | WASHER PLATE | 1 | |
| 33 | NUTSELF-LOCKING | 1 | |
| 35 | BUSHSOLID | 2 | |
| 36 | BUSH 2 | 1 | |
| 37 | COLLAR | 1 | |
| 38 | BOLT | 1 | |
| 41 | COVERTHRUST 2 | 2 | |
| 42 | BOOTRUBBER | 1 | |
| 43 | BOOTRUBBER | 1 | |
| 44 | RODCONNECTING 1 | 1 | |
| 47 | COLLAR | 1 |
