| № | Наименование | Примечание | Кол-во |
|---|---|---|---|
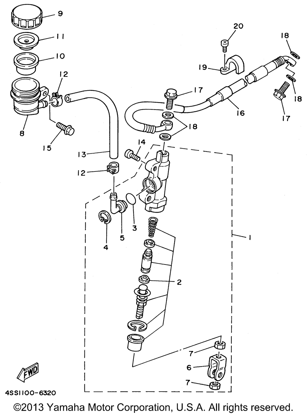
| 1 | RR MSTR CYLINDER (5NY1) | 1 | |
| 2 | CYL KITMASTER | 1 | |
| 3 | O-RING (5 per pack) | 1 | |
| 4 | CIRCLIP | 1 | |
| 5 | JOINT | 1 | |
| 6 | JOINT | 1 | |
| 7 | NUT(6TA) | 2 | |
| 8 | TANKRESERVOIR | 1 | |
| 9 | CAPRESERVOIR | 1 | |
| 10 | DIAPHRAGM RESERVOIR | 1 | |
| 11 | BUSHDIAPHRAGM | 1 | |
| 12 | CLIPSCISSOR | 2 | |
| 13 | HOSE (4EW) (5NY1) | 1 | |
| 14 | BOLT BUTTON HEAD | 2 | |
| 15 | BOLTFLANGE (4MY) | 1 | |
| 16 | HOSEBRAKE 2 (4SS-25873-01-00) | 1 | |
| 17 | BOLTUNION(3GM) | 2 | |
| 18 | WASHERPLATE (5 per pack) | 4 | |
| 19 | HOLDERBRAKE HOSE2 | 2 | |
| 20 | SCREWTAPPING (5 per pack) | 4 |
