| № | Наименование | Примечание | Кол-во |
|---|---|---|---|
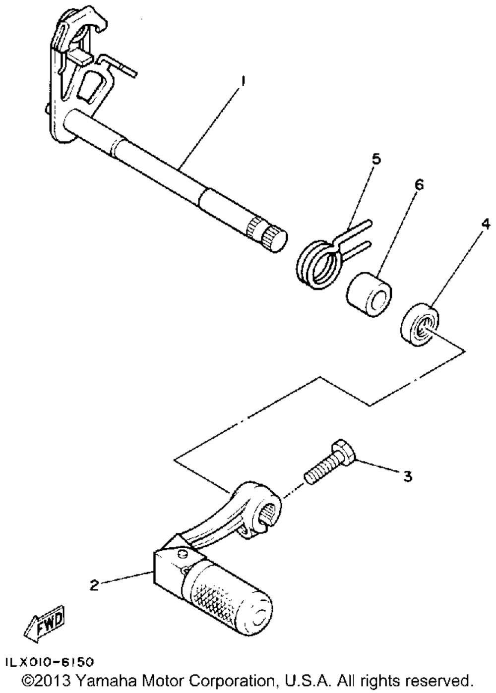
| 1 | SHIFT SHAFT ASY 1 | 1 | |
| 2 | SHIFT PEDAL ASY | 1 | |
| 3 | BOLTHEXAGON | 1 | |
| 4 | OIL SEALSDO-TYPE | 1 | |
| 5 | SPRINGTORSION | 1 | |
| 6 | SPACER | 1 |
| Корзина пуста |
| № | Наименование | Примечание | Кол-во |
|---|---|---|---|
| 1 | SHIFT SHAFT ASY 1 | 1 | |
| 2 | SHIFT PEDAL ASY | 1 | |
| 3 | BOLTHEXAGON | 1 | |
| 4 | OIL SEALSDO-TYPE | 1 | |
| 5 | SPRINGTORSION | 1 | |
| 6 | SPACER | 1 |