| № | Наименование | Примечание | Кол-во |
|---|---|---|---|
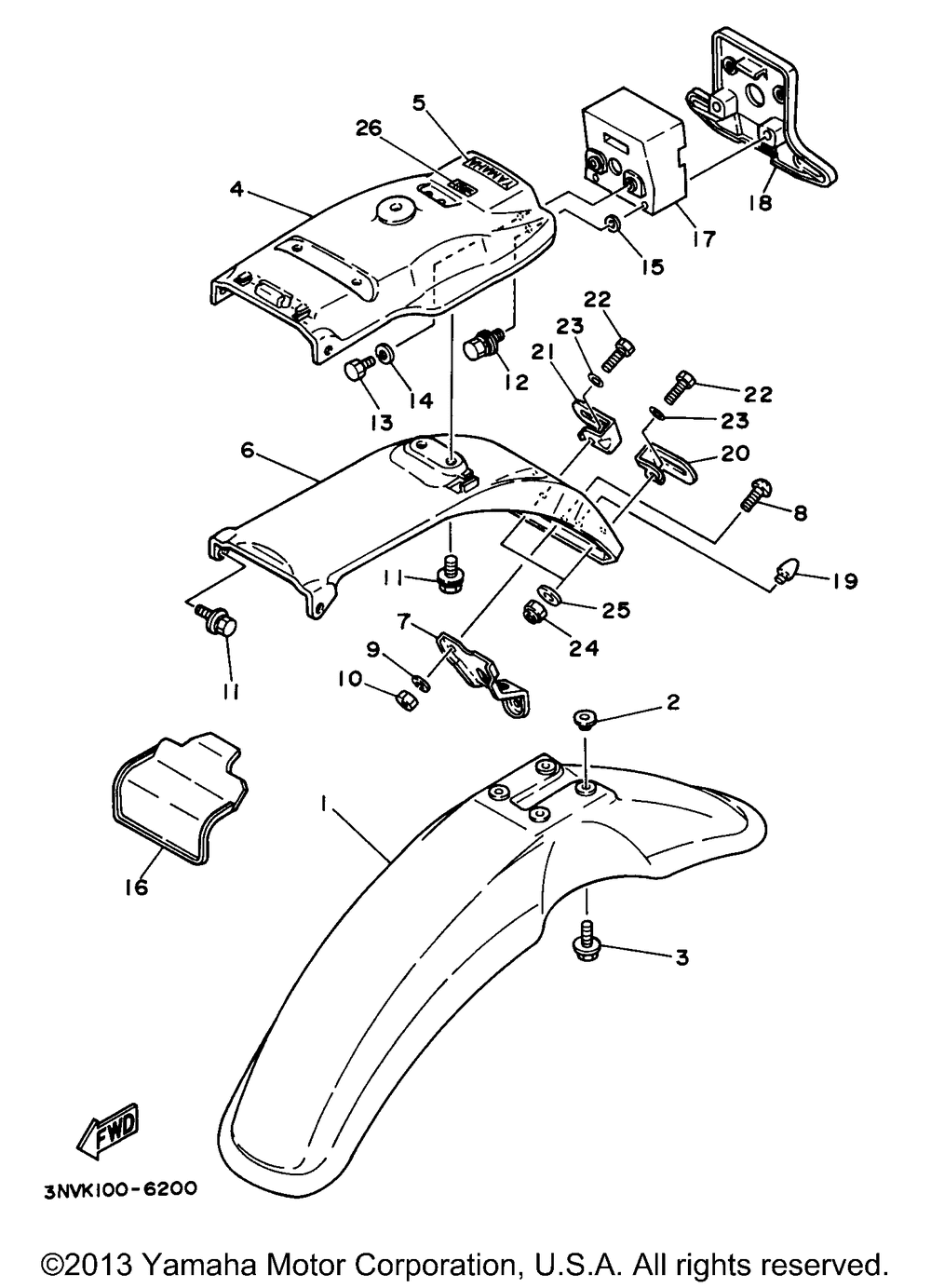
| 1 | FENDERFRONT PWS1 | 1 | |
| 2 | COLLAR | 4 | |
| 3 | BOLTWITH WASHER | 4 | |
| 4 | FENDERREAR PWS1 | 1 | |
| 5 | EMBLEMYAMAHA(FRS) | 1 | |
| 6 | BRACKETLICENSE | 1 | |
| 7 | BRACKETREFLECTOR | 1 | |
| 8 | SCREWWITH WASHER | 2 | |
| 9 | WASHERSPRING (5 per pack) | 2 | |
| 10 | NUT (6TA) | 2 | |
| 13 | BOLT | 2 | |
| 14 | WASHER PLATE (6TA) | 2 | |
| 15 | WASHERPLATE | 2 | |
| 16 | GUARDMUD | 1 | |
| 17 | COVERREAR FENDER | 1 | |
| 18 | BRACKETLICENSE | 1 | |
| 19 | DAMPER 2 | 1 | |
| 20 | BRACKETREAR STAY | 1 | |
| 21 | BRACKET REAR STAY2 | 1 | |
| 22 | BOLT HEXAGON | 2 | |
| 24 | NUTU | 2 | |
| 25 | WASHER PLATE | 2 | |
| 26 | LABEL 1 ENGLISH | 1 |
