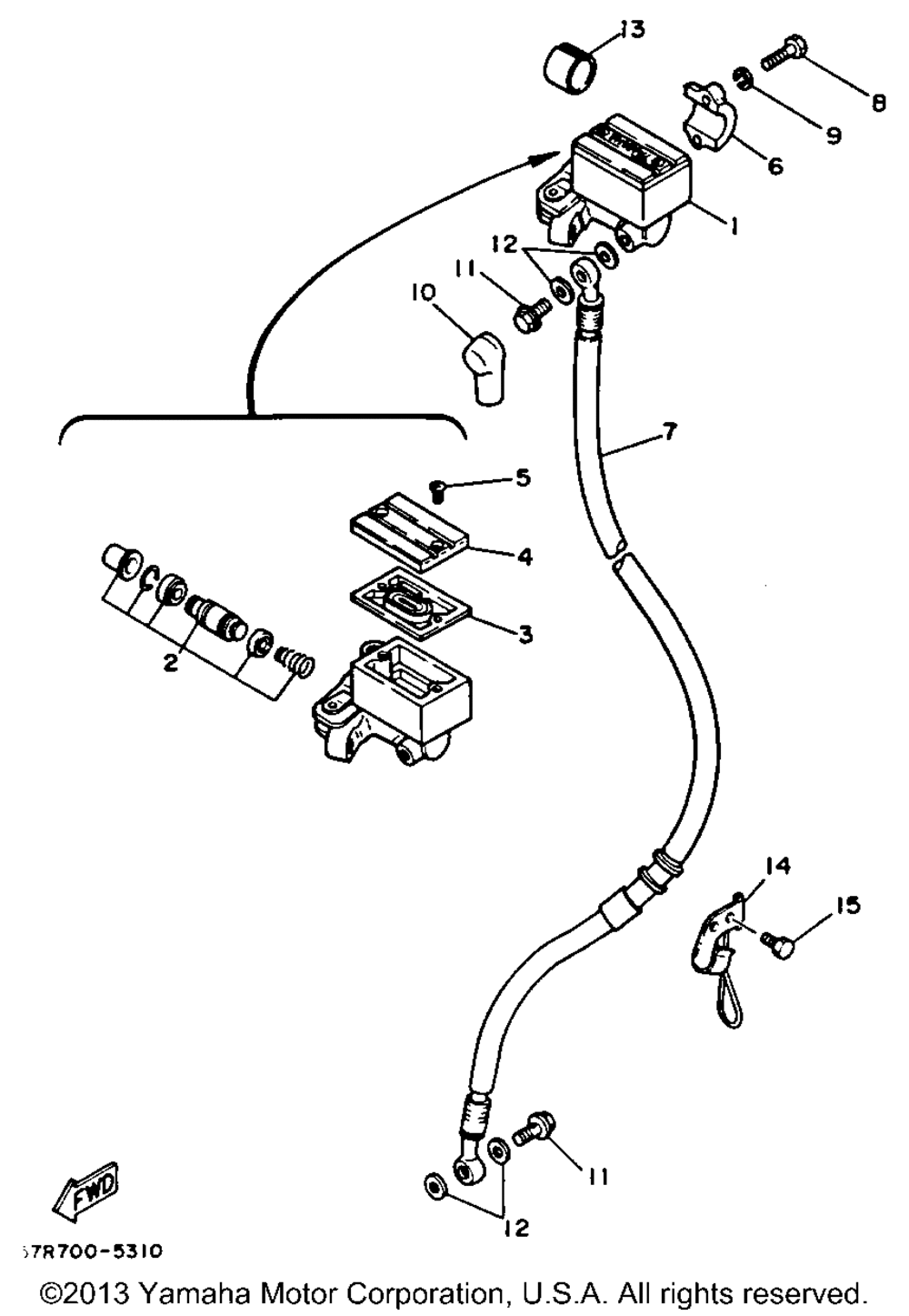
| № | Наименование | Примечание | Кол-во |
|---|---|---|---|
| 1 | MSTR.CYL.SUB.ASY. | 1 | |
| 2 | CYL KITMASTER | 1 | |
| 3 | DIAPHRAGM RESERVOR | 1 | |
| 4 | CAPRESERVOIR | 1 | |
| 5 | SCREWFLAT (5 per pack) | 2 | |
| 6 | BRACKETMASTER CYL | 1 | |
| 7 | HOSE BRAKE 1 | 1 | |
| 8 | BOLTHEXAGON | 2 | |
| 9 | WASHERSPRING (5 per pack) | 2 | |
| 10 | BOOT MASTER CYLINDER | 1 | |
| 11 | Болт с отверстием | 2 | |
| 12 | WASHERPLATE (5 per pack) | 4 | |
| 13 | COLLAR | 1 | |
| 14 | HOLDERBRKE HOSE 2 | 1 | |
| 15 | BOLT (4MY) | 2 |
