| № | Наименование | Примечание | Кол-во |
|---|---|---|---|
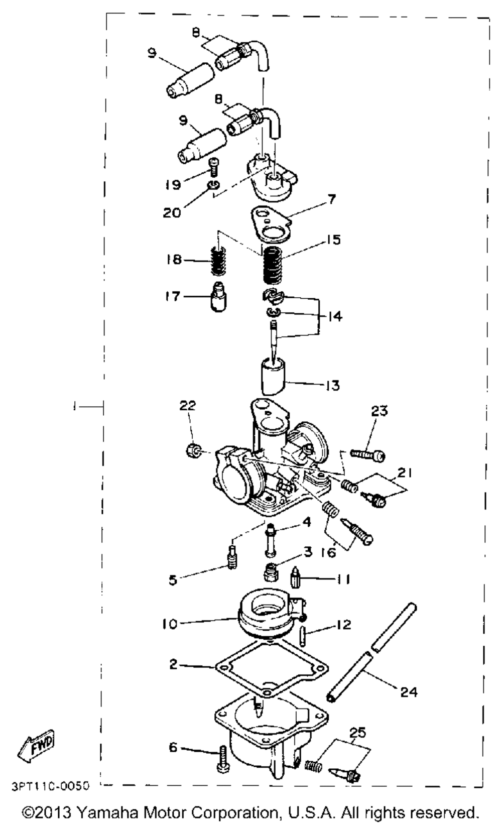
| 1 | CARBURETOR ASY 1 (USA) | 1 | |
| 2 | GASKETFLOAT CHMBR | 1 | |
| 3 | JETMAIN tahos_65 ( 65) UR(USA) | 1 | |
| 3 | JETMAIN tahos_70 (tahos_ 70) | 1 | |
| 3 | JETMAIN tahos_75 ( 75) UR(USA) | 1 | |
| 4 | NOZZLEMAIN | 1 | |
| 5 | JETPILOT tahos_40 (tahos_ 40) | 1 | |
| 6 | . . .SCREW PAN HEAD | 4 | |
| 7 | GASKET | 1 | |
| 8 | CBLE AJST SCRW SET | 2 | |
| 9 | CAP | 2 | |
| 10 | FLOAT | 1 | |
| 11 | NEEDLE VALVE ASY | 1 | |
| 12 | PINFLOAT | 1 | |
| 13 | VALVETHROTTLE 1 | 1 | |
| 14 | NEEDLE SET | 1 | |
| 15 | SPRINGTHRTL VALVE | 1 | |
| 16 | THROTTLE SCREW SET | 1 | |
| 17 | PLUNGER STARTER | 1 | |
| 18 | SPRINGPLUNGER (USA) | 1 | |
| 19 | SCREWPAN HEAD (10 per pack) | 1 | |
| 20 | WASHERSPRING (5 per pack) | 1 | |
| 21 | AIR SCREW SET (USA) | 1 | |
| 22 | NUT (5 per pack) | 1 | |
| 23 | SCREW PAN HEAD | 1 | |
| 24 | HOSE (L200) (835-13171-00) | 1 |
