| № | Наименование | Примечание | Кол-во |
|---|---|---|---|
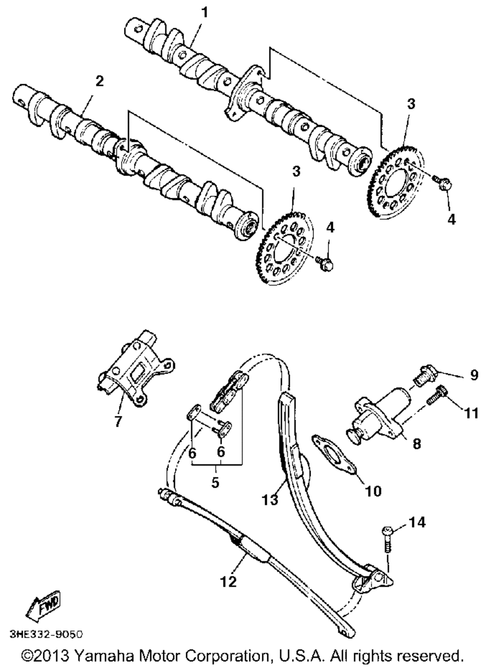
| 1 | CAMSHAFT 1 | 1 | |
| 2 | CAMSHAFT 2 | 1 | |
| 3 | SPROCKETCAM CHAIN | 2 | |
| 4 | BOLTWASHER BASED | 4 | |
| 5 | CHAIN (D.I.D. 215F (D.I.D. 215F DHA 118L) | 1 | |
| 6 | PIN JOINT (D.I.D.215F-LJ) | 1 | |
| 7 | GUIDESTOPPER 2 | 1 | |
| 8 | TENSNR ASYCAM CHN | 1 | |
| 9 | BOLT (1WG) | 1 | |
| 10 | GASKETTENSNR CASE | 1 | |
| 11 | BOLT HEXAGON SOCKET HEAD | 2 | |
| 12 | DAMPERCHAIN 1 | 1 | |
| 13 | DAMPERCHAIN 2 | 1 | |
| 14 | BOLT | 2 |
