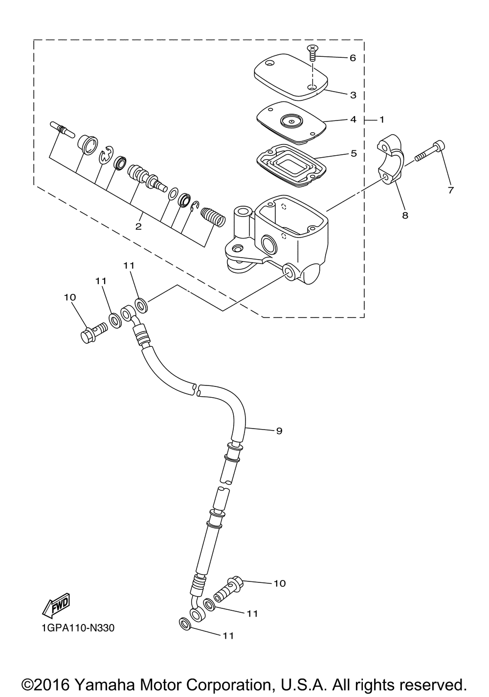
| № | Наименование | Примечание | Кол-во |
|---|---|---|---|
| 1 | MASTER CYLINDER SUB | 1 | |
| 2 | CYLINDER KIT MAST | 1 | |
| 3 | CAP RESERVOIR | 1 | |
| 4 | BUSHDIAPHRAGM | 1 | |
| 5 | DIAPHRAGM RESERVOIR | 1 | |
| 6 | Винт | 2 | |
| 7 | Болт | 2 | |
| 8 | BRACKET MASTER CYLI | 1 | |
| 9 | HOSE BRAKE 1 | 1 | |
| 10 | BOLT UNION | 2 | |
| 11 | GASKET | 4 |
| Корзина пуста |
| № | Наименование | Примечание | Кол-во |
|---|---|---|---|
| 1 | MASTER CYLINDER SUB | 1 | |
| 2 | CYLINDER KIT MAST | 1 | |
| 3 | CAP RESERVOIR | 1 | |
| 4 | BUSHDIAPHRAGM | 1 | |
| 5 | DIAPHRAGM RESERVOIR | 1 | |
| 6 | Винт | 2 | |
| 7 | Болт | 2 | |
| 8 | BRACKET MASTER CYLI | 1 | |
| 9 | HOSE BRAKE 1 | 1 | |
| 10 | BOLT UNION | 2 | |
| 11 | GASKET | 4 |