| № | Наименование | Примечание | Кол-во |
|---|---|---|---|
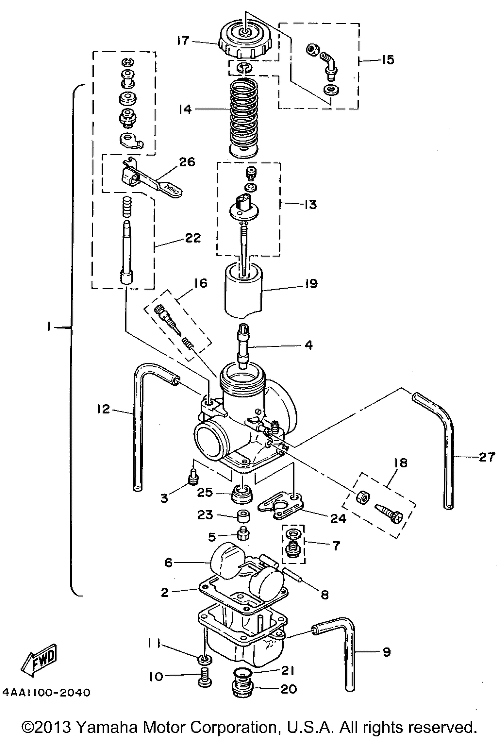
| 1 | CARBURETOR ASY 1 | 1 | |
| 2 | GASKETFLOAT CHMBR | 1 | |
| 3 | JETPILOT tahos_35 AP | 1 | |
| 3 | JETPILOT tahos_40 (tahos_40) STD | 1 | |
| 3 | JETPILOT tahos_45 (tahos_45) AP | 1 | |
| 4 | NOZZLE MAIN AP | 1 | |
| 4 | NOZZLE MAIN STD | 1 | |
| 4 | NOZZLE MAIN AP | 1 | |
| 5 | JETMAIN tahos_350 (350) AP (USA) | 1 | |
| 5 | JETMAIN tahos_360 (360) AP (USA) | 1 | |
| 5 | JETMAIN tahos_370 (370) AP (USA) | 1 | |
| 6 | FLOAT | 1 | |
| 7 | NEEDLE VALVE SET | 1 | |
| 8 | PINFLOAT | 1 | |
| 9 | PIPEAIRVENT (43214-19700-00) | 1 | |
| 10 | . . ELECTRONIC SIREN ASS'Y | 4 | |
| 11 | WASHERSPRING (5 per pack) | 4 | |
| 12 | PIPEOVERFLOW | 1 | |
| 13 | NEEDLE SET | 1 | |
| 14 | SPRINGTHRTL VALVE | 1 | |
| 15 | CBLE AJST SCRW SET | 1 | |
| 16 | AIR SCREW SET | 1 | |
| 17 | TOPMIXING CHAMBER | 1 | |
| 18 | THROTTLE SCREW SET | 1 | |
| 19 | VALVETHROTTLE 1 STD | 1 | |
| 19 | VALVETHROTTLE AP | 1 | |
| 19 | VALVETHROTTLE 1 AP | 1 | |
| 20 | PLUGSCREW | 1 | |
| 21 | O-RING | 1 | |
| 22 | STARTER SET | 1 | |
| 23 | WASHERMAIN JET | 1 | |
| 24 | PLATE | 1 | |
| 25 | SETTERNEEDLE JET | 1 | |
| 26 | LEVERSTARTER 1 | 1 | |
| 27 | HOSE (3SP-14197-00-00) | 1 |
