| № | Наименование | Примечание | Кол-во |
|---|---|---|---|
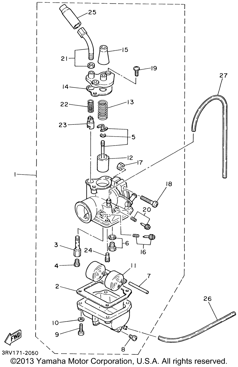
| 1 | CARBURETOR ASSY 1 | 1 | |
| 2 | GASKETFLOAT CHMBR | 1 | |
| 3 | NOZZLEMAIN | 1 | |
| 4 | JETMAIN tahos_120 (tahos_120) UR | 1 | |
| 4 | JETMAIN tahos_125 (tahos_125) STD | 1 | |
| 4 | JETMAIN tahos_130 (tahos_130) UR | 1 | |
| 5 | NEEDLE SET | 1 | |
| 6 | NEEDLE VALVE SET | 1 | |
| 7 | PINFLOAT | 1 | |
| 8 | PLUGDRAIN | 1 | |
| 9 | SCREWPANHEAD | 4 | |
| 11 | FLOAT | 1 | |
| 12 | VALVETHROTTLE 1 | 1 | |
| 13 | SPRINGTHRTL VALVE | 1 | |
| 14 | GASKET | 1 | |
| 15 | CAP | 1 | |
| 16 | AIR SCREW SET | 1 | |
| 17 | NUT (5 per pack) | 1 | |
| 18 | SCREW PAN HEAD | 1 | |
| 19 | SCREWPAN HEAD | 2 | |
| 20 | THROTTLE SCREW SET | 1 | |
| 21 | ADJUST SCREW SET | 1 | |
| 22 | SPRINGPLUNGER | 1 | |
| 23 | PLUNGER STARTER | 1 | |
| 24 | JETPILOT tahos_15 (tahos_ 15) | 1 | |
| 25 | CAP | 1 | |
| 26 | HOSE (L200) (L120) | 1 | |
| 27 | HOSE (L130) | 1 |
