| № | Наименование | Примечание | Кол-во |
|---|---|---|---|
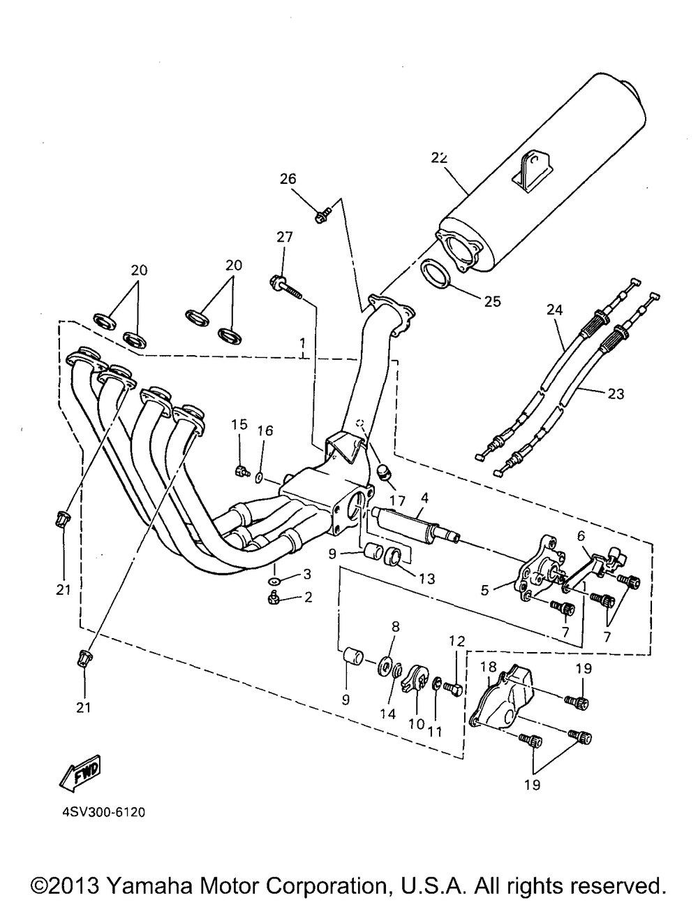
| 1 | EXHAUST PIPE ASSY | 1 | |
| 2 | BOLT | 4 | |
| 3 | WASHER (5 per pack) | 4 | |
| 4 | ARM SHAFT (VALVE) (VALVE) | 1 | |
| 5 | . HOUSING | 1 | |
| 6 | BRACKET | 1 | |
| 7 | BOLTWITH WASHER | 3 | |
| 8 | WASHERPLATE | 1 | |
| 9 | COLLAR | 2 | |
| 10 | PULLEY | 1 | |
| 11 | WASHER PLATE | 1 | |
| 12 | BOLT (6A4) | 1 | |
| 13 | COLLAR | 1 | |
| 14 | SPRING HOOK | 1 | |
| 15 | Bolt | 2 | |
| 16 | WASHER | 2 | |
| 17 | DAMPERLOCATING 1 | 1 | |
| 18 | PROTECTOREXHAUST | 1 | |
| 19 | BOLTWITH WASHER | 3 | |
| 20 | GASKETEXST PIPE | 4 | |
| 21 | NUTSPEC'L SHAPE (5 per pack) | 8 | |
| 22 | MUFFLER 1 | 1 | |
| 23 | WIREPULLEY 1 | 1 | |
| 24 | CABLE PULLEY | 1 | |
| 25 | GASKET MUFFLER | 1 | |
| 26 | BOLTFLANGE | 3 | |
| 27 | BOLTFLANGE | 1 |
