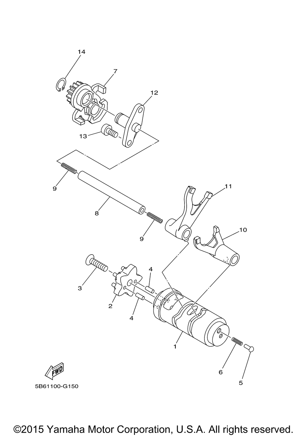
| № | Наименование | Примечание | Кол-во |
|---|---|---|---|
| 1 | SHIFT CAM ASSY (5B61 | 1 | |
| 2 | SEGMENT | 1 | |
| 3 | SCREW(7YA) | 1 | |
| 5 | POINT NEUTRAL | 1 | |
| 6 | SPRINGCOMPRESSION | 1 | |
| 7 | SHIFT LEVER ASSY (JU | 1 | |
| 8 | BAR SHIFT FORK GUID | 1 | |
| 9 | SPRING COMPRESSIO | 2 | |
| 10 | FORK SHIFT 1 (VEGA- | 1 | |
| 11 | FORK SHIFT 2 (VEGA- | 1 | |
| 12 | BOSS | 1 | |
| 13 | BLTBTTN HD | 2 | |
| 14 | CIRCLIP | 1 |
