| № | Наименование | Примечание | Кол-во |
|---|---|---|---|
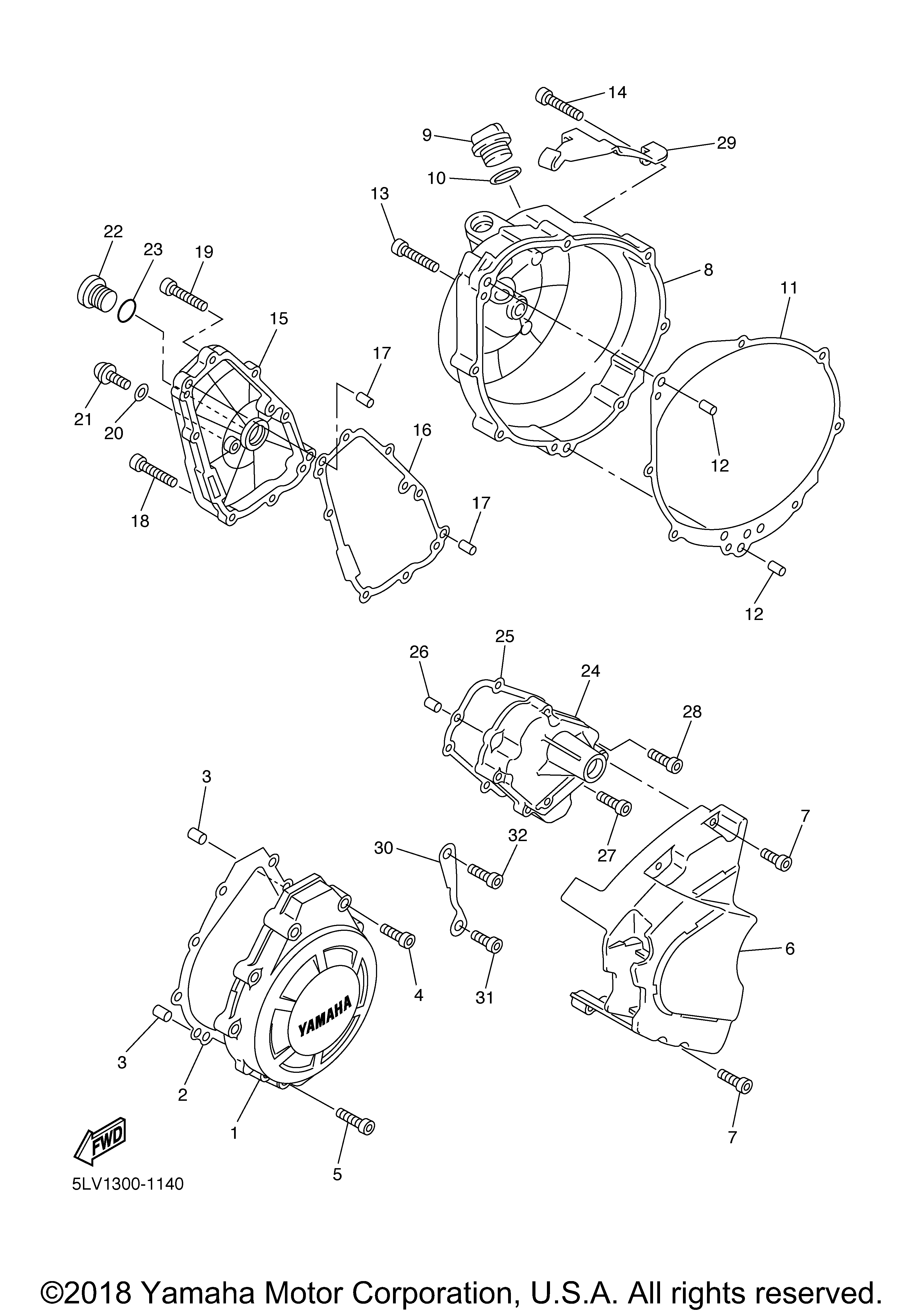
| 1 | COVER CRANKCASE 1 | 1 | |
| 2 | GASKET CRANKCASE | 1 | |
| 3 | PIN DOWEL | 2 | |
| 4 | BOLTSOCKET HEAT | 8 | |
| 5 | BOLT (3JB) | 1 | |
| 6 | COVER CHAIN CASE | 1 | |
| 7 | BOLT (3DM) | 4 | |
| 8 | COVER CRANKCASE 2 | 1 | |
| 9 | PLUG OIL LEVEL | 1 | |
| 10 | O-RING | 1 | |
| 11 | Прокладка крышки сцепления | 1 | |
| 12 | PINSTRAIGHT | 2 | |
| 13 | BOLTSOCKET | 6 | |
| 14 | BOLT SOCKET | 2 | |
| 15 | COVER OIL PUMP | 1 | |
| 16 | GASKET OIL PUMP COV | 1 | |
| 20 | GASKET | 1 | |
| 21 | BOLT BUTTON HEAD | 1 | |
| 22 | PLUGSTRAIGHT SCRW | 1 | |
| 23 | O-RING | 1 | |
| 24 | COVER GENERATOR 2 | 1 | |
| 25 | GASKET CARBURETOR | 1 | |
| 28 | BOLTSOCKET | 3 | |
| 29 | HOLDER CLUTCH CABLE | 1 | |
| 30 | PLATE | 1 | |
| 31 | BOLTHEX SKT HEAD | 1 | |
| 32 | BOLT (4MY) | 1 |
