| № | Наименование | Примечание | Кол-во |
|---|---|---|---|
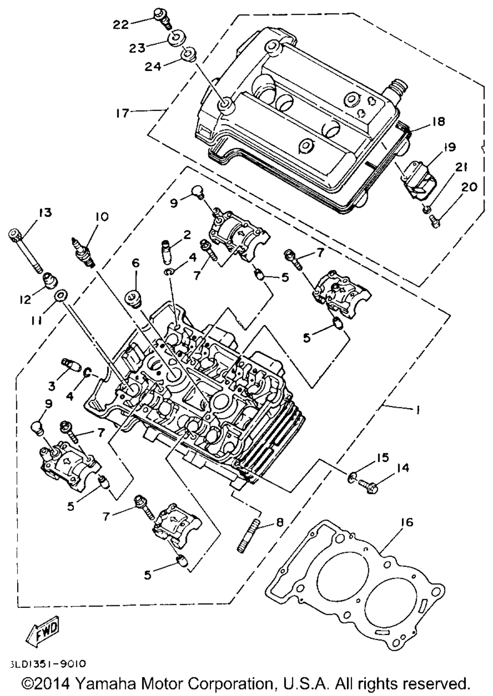
| 1 | CYLINDER HEAD ASY | 1 | |
| 2 | GDEINTK VLV 1 O/S | 6 | |
| 3 | GDEEXST VLV 1 O/S | 4 | |
| 4 | CIRCLIPOUTER | 10 | |
| 5 | PIN DOWEL | 8 | |
| 6 | PLUGSTRAIGHT SCRW | 2 | |
| 7 | BOLTWASHER BASED | 16 | |
| 8 | BOLT STUD | 4 | |
| 9 | PLUGSPEC'L SHAPE | 2 | |
| 10 | DPR9EA9 NGK SPLUG (10 per pack) | 2 | |
| 11 | WASHERPLATE | 6 | |
| 12 | NUTSPEC'L SHAPE | 6 | |
| 13 | BOLTSOCKET HEAD | 2 | |
| 14 | BOLT SMALL FLANGE | 1 | |
| 15 | GASKET | 1 | |
| 16 | GASKETCYL HEAD 1 | 1 | |
| 17 | COVER ASYCYLINDER | 1 | |
| 18 | GSKTHD.CVR1 | 1 | |
| 19 | BREATHER ASY | 1 | |
| 20 | SCREWPAN HEAD (98502-04006) | 2 | |
| 21 | WASHERSPRING (5 per pack) | 2 | |
| 22 | BOLT(3TJ) | 4 | |
| 23 | WASHERSPEC'L SHAP | 4 | |
| 24 | RUBBERMOUNT 1 | 4 |
