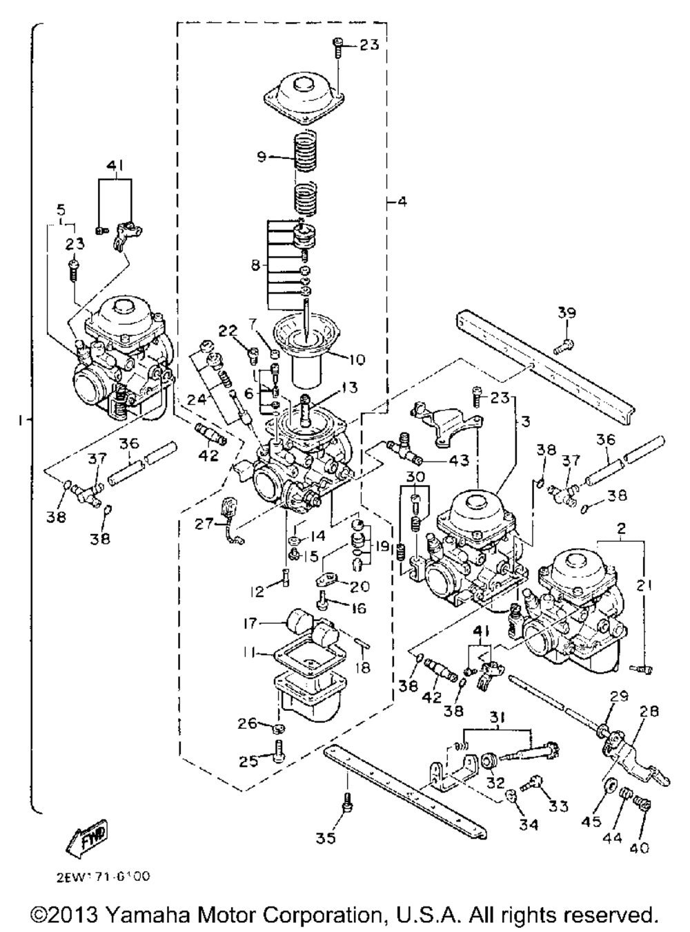
| № | Наименование | Примечание | Кол-во |
|---|---|---|---|
| 2 | CARBURETOR ASY | 1 | |
| 3 | CARBURETOR ASY 2 | 1 | |
| 4 | CARBURETOR ASY 3 | 1 | |
| 5 | CARBURETOR ASY 4 | 1 | |
| 6 | PILOT SCREW SET | 1 | |
| 7 | PLUG | 1 | |
| 8 | NEEDLE SET 4 | 1 | |
| 9 | SPRINGDIAPHRAGM | 1 | |
| 10 | DIAPHRAGM ASY | 1 | |
| 11 | GASKET FLOAT CHAMBE | 1 | |
| 12 | JET PILOT tahos_30 (30) | 1 | |
| 13 | NOZZLE MAIN | 1 | |
| 14 | WASHERMAIN JET | 1 | |
| 15 | JETMAINtahos_107.5 (tahos_107.5) 4 | 1 | |
| 16 | SCREWPAN HEAD | 1 | |
| 17 | FLOAT | 1 | |
| 18 | PINFLOAT | 1 | |
| 19 | NEEDLE VALVE SET | 1 | |
| 20 | PLATE | 1 | |
| 21 | PLUGDRAIN | 1 | |
| 22 | JETMAIN tahos_135 (tahos_135) UR REAR | 1 | |
| 23 | SCREW PAN HEAD | 4 | |
| 24 | STARTER SET | 1 | |
| 25 | . . .SCREW PAN HEAD | 4 | |
| 26 | WASHERSPRING (5 per pack) | 4 | |
| 27 | CABLE | 0 | |
| 28 | SHAFTSTARTER LEVR | 1 | |
| 30 | STOP SCREW SET | 3 | |
| 31 | THROTTLE SCREW SET | 1 | |
| 32 | BUSH | 1 | |
| 34 | WASHERSPRING (5 per pack) | 1 | |
| 35 | SCREW PAN | 8 | |
| 36 | HOSE (2GH-14197-00-00) | 2 | |
| 37 | PIPESTARTER CON | 2 | |
| 38 | O-RING | 8 | |
| 40 | PLUGSCREW | 1 | |
| 41 | STARTER LEVER SET2 | 4 | |
| 42 | PIPESTARTER CON | 2 | |
| 43 | PIPESTARTER CON | 1 | |
| 44 | SPRING | 1 | |
| 45 | WASHER | 1 |
