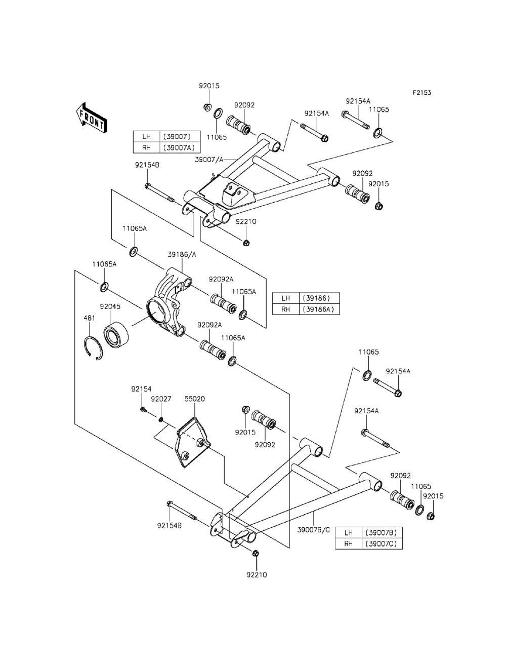
| № | Наименование | Примечание | Кол-во |
|---|---|---|---|
| 481 | CIRCLIP-TYPE-C | 2 | |
| 11065 | CAPARM | 8 | |
| 11065A | CAP | 8 | |
| 39007 | ARM-SUSPRRUPPLH | 1 | |
| 39007A | ARM-SUSPRRUPPRH | 1 | |
| 39007B | ARM-SUSPRRLWRLH | 1 | |
| 39007C | ARM-SUSPRRLWRRH | 1 | |
| 39186 | KNUCKLERRLH | 1 | |
| 39186A | KNUCKLERRRH | 1 | |
| 55020 | GUARDRR CVJ | 2 | |
| 92015 | NUT12MM | 8 | |
| 92027 | COLLARBRAKE PEDAL | 4 | |
| 92045 | BEARING-BALL40X74X36 | 2 | |
| 92092 | BUSHING-RUBBER12X20X | 8 | |
| 92092A | BUSHING-RUBBER10.1X1 | 4 | |
| 92154 | BOLT6X15.6 | 4 | |
| 92154A | BOLTFLANGED12X100 | 8 | |
| 92154B | BOLTFLANGED10X110 | 4 | |
| 92210 | NUTLOCKFLANGED10MM | 4 |
